Main Page
Site Nav
Technical Updates
Sections
A - RoofStar Guarantee
B - Essential Elements
C - Accepted Materials
D - Low Slope Roofs
E - Steep Slope Roofs
F - Waterproofing Plazas, Promenades and Terraces
G - Construction Details
H - Build Your Own Roof
I - General Information
Go
Personal
Log in
Page
Special page
Tools
Printable version
Special pages
View user groups
Logs
User contributions
Main page
Random page
Help
File list
Jump to:
navigation
,
search
File list
This special page shows all uploaded files.
File list
Items per page:
20
50
100
250
500
Search for media name:
Username:
Include old versions of files
First page
Previous page
Next page
Last page
Date
Name
Thumbnail
Size
Description
Versions
18:20, 31 October 2024
Carlisle Roof Garden 200V-300HV Protection Fabrics TDS.pdf
(
file
)
249 KB
1
21:53, 24 October 2024
Figure 2.1.8.1.-D (Electrical).jpg
(
file
)
504 KB
2
21:52, 24 October 2024
Figure 2.1.8.1.-C (Electrical).jpg
(
file
)
150 KB
2
21:51, 24 October 2024
Figure 2.1.8.1.-B (Electrical).jpg
(
file
)
281 KB
2
21:51, 24 October 2024
Figure 2.1.8.1.-A (Electrical).jpg
(
file
)
280 KB
2
21:46, 24 October 2024
Figure 2.1.1.2.-A (Slopes).jpg
(
file
)
652 KB
5
21:41, 24 October 2024
Figure 1.1.3.3.-A.jpg
(
file
)
1.28 MB
3
21:02, 24 October 2024
Figure 3.1.3.2.-A (Wind Zones).jpg
(
file
)
221 KB
3
20:59, 24 October 2024
Figure 3.1.3.2.-B (Wind Zones).jpg
(
file
)
124 KB
4
18:04, 23 October 2024
Illustration A-10.3.7.2.png
(
file
)
55 KB
2
14:27, 18 October 2024
SBS Conv. Insulated Assy (Typical) MKD.png
(
file
)
308 KB
1
14:46, 11 October 2024
Soprema Wind Resistance Letter of Confirmation 2022-01 (VRA).pdf
(
file
)
98 KB
1
14:45, 11 October 2024
Soprema Wind Resistance Letter of Confirmation 2022-12 (VRA).pdf
(
file
)
99 KB
1
14:44, 11 October 2024
Soprema Wind Resistance Letter of Confirmation 2022 (Toundra Box).pdf
(
file
)
34 KB
1
14:34, 11 October 2024
Soprema Sopranature Toundra Box TDS.pdf
(
file
)
112 KB
1
14:34, 11 October 2024
Soprema Sopranature Sopratex TDS.pdf
(
file
)
107 KB
1
14:34, 11 October 2024
Soprema Sopranature Sopraretentio Module TDS.pdf
(
file
)
117 KB
1
14:33, 11 October 2024
Soprema Sopranature Sopraretentio Mat TDS.pdf
(
file
)
108 KB
1
14:33, 11 October 2024
Soprema Sopranature Sopraretentio Board TDS.pdf
(
file
)
114 KB
1
14:33, 11 October 2024
Soprema Sopranature Sopraflow Control TDS.pdf
(
file
)
926 KB
1
14:32, 11 October 2024
Soprema Sopranature Sopraflor X & I TDS.pdf
(
file
)
107 KB
1
14:32, 11 October 2024
Soprema Sopranature Sopraflor AU TDS.pdf
(
file
)
105 KB
1
14:31, 11 October 2024
Soprema Sopranature Soprafiltre TDS.pdf
(
file
)
161 KB
1
14:31, 11 October 2024
Soprema Sopranature Sopradrain ECO-VENT TDS.pdf
(
file
)
121 KB
1
14:30, 11 October 2024
Soprema Sopranature Sopradrain ECO-5 TDS.pdf
(
file
)
112 KB
1
14:30, 11 October 2024
Soprema Sopranature Soprabarrier 20 & 30 TDS.pdf
(
file
)
112 KB
1
14:30, 11 October 2024
Soprema Sopranature Sedum Mat TDS.pdf
(
file
)
107 KB
1
14:29, 11 October 2024
Soprema Sopranature Metal Edging TDS.pdf
(
file
)
137 KB
1
14:29, 11 October 2024
Soprema Sopranature Inspection Chamber TDS.pdf
(
file
)
110 KB
1
22:01, 8 October 2024
Hydrotech Root Stop TDS.pdf
(
file
)
287 KB
1
21:59, 8 October 2024
Hydrotech Root Stop Tape TDS.pdf
(
file
)
290 KB
1
21:58, 8 October 2024
Hydrotech Root Stop HD TDS.pdf
(
file
)
261 KB
1
21:58, 8 October 2024
Hydrotech LiteTop Growing Media TDS.pdf
(
file
)
348 KB
1
21:58, 8 October 2024
Hydrotech LiteTop Filter TDS.pdf
(
file
)
344 KB
1
21:58, 8 October 2024
Hydrotech LiteTop Aggregate TDS.pdf
(
file
)
303 KB
1
21:57, 8 October 2024
Hydrotech Instagreen Carpet TDS.pdf
(
file
)
285 KB
1
21:52, 8 October 2024
Hydrotech GardenEdge TDS.pdf
(
file
)
230 KB
1
21:52, 8 October 2024
Hydrotech Gardendrain GR50 TDS.pdf
(
file
)
227 KB
1
21:52, 8 October 2024
Hydrotech Gardendrain GR30 TDS.pdf
(
file
)
226 KB
1
21:51, 8 October 2024
Hydrotech Gardendrain GR25 TDS.pdf
(
file
)
323 KB
1
21:50, 8 October 2024
Hydrotech Gardendrain GR10 TDS.pdf
(
file
)
335 KB
1
15:24, 4 October 2024
Extensive VR System (sedum tile).jpg
(
file
)
2.86 MB
2
14:57, 3 October 2024
Semi-intensive VR System.JPG
(
file
)
832 KB
1
14:48, 3 October 2024
Intensive VR System.png
(
file
)
2.67 MB
1
21:49, 20 September 2024
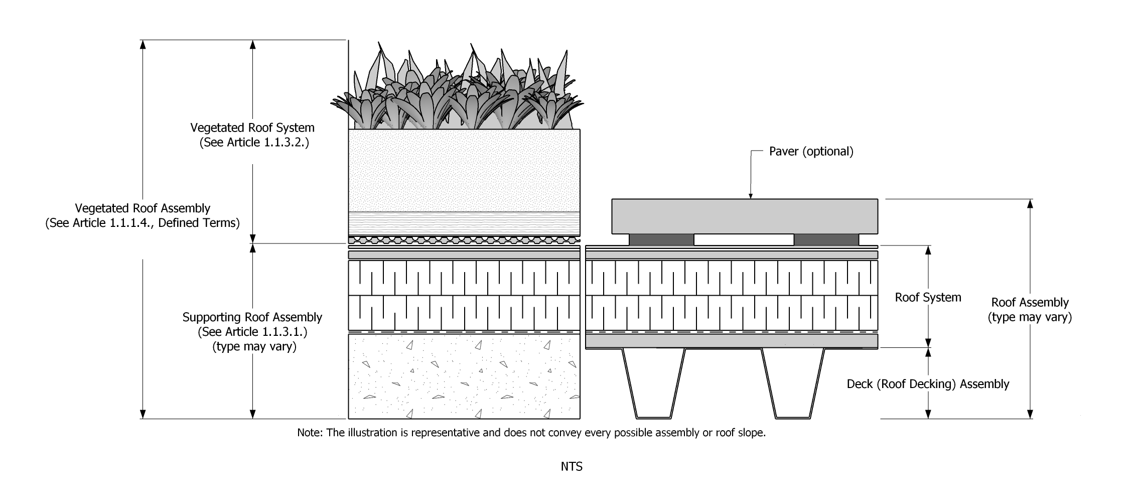
Figure 1.1.1.4. - Roof System, Roof Assembly.png
(
file
)
218 KB
2
15:16, 22 August 2024
RGC Application for VRS Material Acceptance (Form F-090 VRS).pdf
(
file
)
922 KB
1
14:56, 14 August 2024
VRA Construction Details page thumb.jpg
(
file
)
1.46 MB
1
17:46, 13 August 2024
VRA Standard, Figure 7.1.5.1.png
(
file
)
261 KB
3
17:45, 13 August 2024
VRA Standard, Figure 6.1.3.1.png
(
file
)
219 KB
3
21:07, 6 August 2024
Figure 3.1.3.2.-2.jpg
(
file
)
301 KB
1
First page
Previous page
Next page
Last page