VRA Standard

Jump to: navigation, search

VRA Standard



Contents

Division B - Standards
Vegetated Roofs


RGC Standard for Vegetated Roofs

About the Standard

This Standard is comprised of fourteen (14) Parts that contain the requirements, guiding principles, recommendations, and informative materials necessary for a roof to qualify for a RoofStarTM Vegetated Roof Guarantee.

Notes to the Standard are hyperlinked from each Part and can be read by using the link in the Table of Contents for the Standard. Highlighted text within the body of the Standard indicates revisions made within the last twelve (12) months.

This Standard follows a specific structure, incorporates defined terms, and utilizes coloured text to denote specific meaning; this is explained in Division A, Part 2, "Structure and Organization of RPM and Standards". When the requirements in this Standard conflict with other resources found either in this Manual or in instructions published by the vegetated roof system manufacturer, the rules for Authority and Conflict in Division A, Article 2.3.1.2. shall be applied.

Readers are advised to review relevant materials that can be accessed through the hyperlinks embedded in the body of text.



First Edition: June 13, 2024
Previous Edition: N/A
Current Edition: Adopted October 25, 2024

All changes to this Standard are effective
November 1, 2024

© RCABC 2025
RoofStarTM is a registered Trademark of the RCABC.
No reproduction of this material, in whole or in part, is lawful without the expressed permission of the RCABC Guarantee Corp.

Preface

A vegetated roof assembly (VRA), also referred to as a green roof or “living roof”, is a system of materials, together with vegetation, that is built on a supporting waterproofing roof assembly. Vegetated roof assemblies resist and even transform the effects of weather and sunlight into vibrant life and extended serviceability. They also provide many other significant benefits to a building, its occupants, and those who live and work near it. A key to a well-designed and well-built green roof is an objective, enforceable, recognized standard. When designed and built well, green roofs are enduring enhancements to the buildings they grace.

The "Standard for Vegetated Roofs" was developed in collaboration with various members of the RCABC, together with external stakeholders and experts in the field of vegetated (green) roof design, materials, and construction. It covers the essential elements needed to qualify for a RoofStar Vegetated Roof Guarantee and is structured to provide guidance in a linear fashion, from the general to the specific, and from the initial design stage to post-commissioning development and care.

The RoofStar Vegetated Roof Guarantee is unique in North America. Because it is an add-on to the RoofStar Guarantee for the supporting roof assembly, the vegetated roof system (VRS) must be supplied by an RGC-accepted vegetated roof system manufacturer (including materials such as vegetation from their approved suppliers). Some VRS manufacturers are RCABC Associate Members who also manufacture roof membranes and other components of the supporting roof assembly. Others (RCABC Affiliate Members) manufacture vegetated roof systems and have contractual arrangements with roof system manufacturers to supply a VRS for the supporting roof assembly. When that arrangement is substantiated, the RoofStar Guarantee can be extended to cover the Affiliate Member’s vegetated roof system (see Article 1.1.1.4., "Defined Terms", and Article 1.3.2.4., "Contractor Submittals").

While this Standard is focused on the basics of design and constructability of green roofs as rainwater management tools, each design (specifically, those that are classified as semi-intensive or intensive) should aim to balance the limitations of vegetation on a roof with a diversity of plants, and their appropriate support (growing media), to mimic naturally biodiverse habitats.

Like the other RoofStar Guarantees offered by the RCABC Guarantee Corporation (RGC), the success of the RoofStar Vegetated Roof Guarantee is predicated on five key policy-driven fundamentals (See Part 3, “Guarantee” in Division A of the Roofing Practices Manual):

  1. A RoofStar Guarantee attaches only to a roof and vegetated roof system installed and maintained during the Guarantee term by members of the RCABC (including Affiliate Members when they are qualified to install and maintain a green roof).
  2. Installers and those responsible for maintenance must be trained to a recognized minimum standard, though higher levels of competency are recommended.
  3. Only vegetated roof systems supplied and warrantied by a vegetated roof system manufacturer qualify as accepted materials (See Article 1.1.1.4., and Article 1.1.3.2.).
  4. This "Standard for Vegetated Roof Assemblies" is the only standard by which a green roof may qualify for a RoofStar Guarantee.
  5. Each RoofStar Guaranteed vegetated roof assembly must be independently reviewed during and after construction to ensure the design, materials, and construction align with this Standard and RCABC policy requirements.


Although this Standard contains numerous best practices for green roofing and covers a broad range of materials, its purpose is to support the RGC RoofStar Guarantee Program. Readers are advised to consult Part 1 of Division A in the Roofing Practices Manual (RPM) concerning the scope and limitations of this Standard. Coverage afforde by a RoofStar Vegetated Roof Guarantee is described in Article 3.2.1.1. of Division A.

This document is not a complete guide to green roofing. It is not a designer’s or consumer’s guide and does not describe the benefits, co-benefits, or limitations of a vegetation-covered roof; an abundance of printed literature and online publications already provide a wealth of information for those who wish to become better informed or educated. Nor does this Standard purport to address all issues that may arise, including matters of worker or visitor safety on the roof. Too many variables, including the myriad of design options, preclude the practicality of such an approach. It is incumbent on the user of this Standard to possesses a level of knowledge, understanding, and competency, in order to make thoughtful, considered choices in the design, construction, and maintenance of a green roof. Although innovative design is encouraged, each design will necessarily be limited by this Standard and may be limited by the availability of systems supplied by vegetated roof system manufacturers. Vegetated roof designs should be responsibly considered, be responsive to the project objectives, focus on performance, and must be designed for maintenance. Within the scope of this Standard, much is possible and permissible. However, not everything permissible is necessarily advisable; good judgement must be exercised at the design stage to ensure a project’s success, and good judgement reaches well beyond what this Standard can address.

As a fully integrated document, every Part of this Standard contains critical requirements that sometimes overlap requirements in other Parts. While numerous requirements are linked internally to related Articles throughout the Standard, not every relationship between requirements is made in this fashion. Therefore, the reader must become familiar with the Standard in its entirety.


Part 1 - General

Section 1.1. Design

1.1.1. General

1.1.1.1. Scope

  1. The scope of this Part and the Standard shall be as described in Division A, Part 1.
  2. In addition to the Scope described in Division A, this Standard applies to the design and construction of vegetated roof systems that are site-built, or which may be pre-fabricated, in part or in whole.

1.1.1.2. Coverage and Limitations

  1. Coverage provided by a RoofStar Vegetated Roof Guarantee shall be as described in Division A, Article 3.2.1.2. and excludes (together with other conditions and exclusions)
    1. death or delayed growth of plants due to planting or seeding schedules specified by the vegetated roof system manufacturer or the design professional,
    2. maintenance of the design aesthetic of the vegetated roof system,
    3. any act or omission by the qualified green roof installer, except as provided for in this Standard,
    4. the failure of any electrically or electronically operated flow control drain, no matter how it is caused, and any leak arising from such a failure, and
    5. any impact on the vegetated roof system by future changes to the building, the building occupancy, building use, or nearby development (e.g., shading from new, higher buildings) (See Article 1.1.1.8.).

1.1.1.3. References

  1. In this Standard, all references to
    1. the "British Columbia Building Code" (the "Building Code", or the "Code"), the "Vancouver Building By-law" (VBBL), to municipal or regional building codes or regulations, or to other standards, presume the current edition that is in force,
    2. materials mean those materials expressly accepted by the Guarantor, unless stated otherwise, and
    3. measurements are shown in metric units first, followed by Imperial values (typically in parentheses; see Division A, Article 2.1.3.2., "Measurements").
  2. The following Canadian national, provincial, and municipal standards and guidelines have shaped, or are referenced in, this Standard:
    1. CAN/CGSB-4.2 No. 12-2-95, “Textile Test Methods – Tearing Strength – Trapezoid Method”
    2. CAN/CGSB-148.1 No. 7.3-92, “Methods of Testing Geotextiles and Geomembranes Grab Tensile Test for Geotextiles”.
    3. CAN/CGSB-148.1 No. 4-94, “Methods of Testing Geosynthetics Geotextiles - Normal Water Permeability Under No Compressive Load”.
    4. CAN/CGSB-148.1 No. 10-94, “Methods of Testing Geosynthetics Geotextiles – Filtration Opening Size”.
    5. Canadian Society of Landscape Architects, “Canadian Landscape Standard”, Second Edition, March 2023.
    6. Capital Regional District (City of Victoria), “Stormwater-Green roof Guidelines” (with Appendix A), 2019.
    7. CSA-A123.21, “Standard test method for the dynamic wind uplift resistance of membrane-roofing systems”.
    8. CSA-A123.24, “Standard test method for wind resistance of vegetated roof assembly”.
    9. City of Toronto, “Green roof Construction Standard (Supplementary Guidelines)”, 2010.
    10. City of Toronto, “Green Vegetative Roof Building Standard for the City of Toronto”, 2007.
    11. CMHC/OAA, “Design Guidelines for Green roofs”, 2006.
    12. Green Roofs for Healthy Cities, “Green Roof Design and Installation Resource Manual”, 2013.
    13. Metro Vancouver, “Stormwater Source Control Design Guidelines”, 2012.
    14. Régie du Bâtiment du Québec (RBQ), “Critères techniques visant la construction de toits végétalisés”, 2015.
  3. In addition to Canadian standards and guidelines, this document incorporates methods, tests, and other materials gleaned from the following international resources:
    1. AATCC TM195, “Liquid Moisture Management Properties of Textile Fabrics”.
    2. ANSI/SPRI Standards
      1. ANSI/SPRI RP-14, “Wind Design Standard for Vegetative Roofing Systems”.
      2. ANSI/SPRI VF-1, “External Fire Design Standard for Vegetative Roofs”.
      3. ANSI/SPRI VR-1, “Procedure for Investigating Resistance to Root or Rhizome Penetration on Vegetative Roofs”.
    3. ASTM D570-22, “Standard Test Method for Water Absorption of Plastics”.
    4. ASTM D698-12 (2021), “Standard Test Methods for Laboratory Compaction Characteristics of Soil Using Standard Effort (12,400 ft-lbf/ft3 (600 kN-m/m3))”.
    5. ASTM D4632/4632M – 15a, “Standard Test Method for Grab Breaking Load and Elongation of Geotextiles”.
    6. ASTM D4716/D4716M – 20, “Standard Test Method for Determining the (In-plane) Flow Rate per Unite Width and Hydraulic Transmissivity of a Geosynthetic Using a Constant Head”.
    7. ASTM D6241 – 14, “Standard Test Method for Static Puncture Strength of Geotextiles and Geotextile-related Products using a 50-mm Probe”.
    8. ASTM E2400/E2400M - 06 (Reapproved 2015), “Standard Guide for Selection, Installation, and Maintenance of Plants for Green Roof Systems”.
    9. ASTM E2777-20, “Standard Guide for Vegetative (Green) Roof Systems”, which references the following Standards, Practices, Guides, and Specifications, some of which are referenced elsewhere in this Article:
      1. ASTM C88, “Test Method for Soundness of Aggregates by Use of Sodium Sulfate or Magnesium Sulfate”.
      2. ASTM D1079, “Terminology Relating to Roofing and Waterproofing”.
      3. ASTM D1987-22, “Test Method for Biological Clogging of Geotextile or Soil/Geotextile Filters”.
      4. ASTM D3786/D3786M, “Test Method for Bursting Strength of Textile Fabrics—Diaphragm Bursting Strength Tester Method”.
      5. ASTM D4439, “Standard Terminology of Geosynthetics”.
      6. ASTM D4491/D4491M, “Test Method for Water Permeability of Geotextiles by Permittivity”.
      7. ASTM D4595, “Test Method for Tensile Properties of Geotextiles by the Wide-Width Strip Method”.
      8. ASTM D4716/D4716M, “Test Method for Determining the (In-plane) Flow Rate per Unit Width and Hydraulic Transmissivity of a Geosynthetic Using a Constant Head”.
      9. ASTM D4751, “Test Method for Determining Apparent Opening Size of a Geotextile”.
      10. ASTM D4759, “Practice for Determining the Specification Conformance of Geosynthetics”.
      11. ASTM D4873, “Guide for Identification, Storage, and Handling of Geosynthetic Rolls and Samples”.
      12. ASTM D5199, “Test Method for Measuring the Nominal Thickness of Geotextiles”.
      13. ASTM D5261, “Test Method for Measuring Mass per Unit Area of Geotextiles”.
      14. ASTM D5262, “Test Method for Evaluating the Unconfined Tension Creep and Creep Rupture Behavior of Geosynthetics”.
      15. ASTM D5617, “Test Method for Multi-Axial Tension Test for Geosynthetics”.
      16. ASTM D5818, “Practice for Exposure and Retrieval of Samples to Evaluate Installation Damage of Geosynthetics”.
      17. ASTM D6637, “Test Method for Determining Tensile Properties of Geogrids by the Single or Multi-Rib Tensile Method”.
      18. ASTM D7361, “Test Method for Accelerated Compressive Creep of Geosynthetic Materials Based on Time-Temperature Superposition Using the Stepped Isothermal Method”.
      19. ASTM E108, “Test Methods for Fire Tests of Roof Coverings”.
      20. ASTM E136, “Test Method for Behavior of Materials in a Vertical Tube Furnace at 750°C”.
      21. ASTM E631, “Terminology of Building Constructions”.
      22. ASTM E2114, “Terminology for Sustainability Relative to the Performance of Buildings”.
      23. ASTM E2396/E2396M-15, “Standard Test Method for Saturated Water Permeability of Granular Drainage Media [Falling-Head Method] for Vegetative (Green) Roof Systems”.
      24. ASTM E2397/E2397M – 15, “Standard Practice for Determination of Dead Loads and Live Loads Associated with Vegetative (Green) Roof Systems”.
      25. ASTM E2398/E2398M - 15a, “Standard Test Method for Water Capture and Media Retention of Geocomposite Drain Layers for Vegetative (Green) Roof Systems”.
      26. ASTM E2399/E2399M – 15, “Standard Test Method for Maximum Media Density for Dead Load Analysis of Vegetative (Green) Roof Systems”.
      27. ASTM E2400/E2400M - 06 (Reapproved 2015), “Standard Guide for Selection, Installation, and Maintenance of Plants for Green Roof Systems”.
      28. ASTM E2432, “Guide for General Principles of Sustainability Relative to Buildings”.
      29. ASTM E2788/E2788M-18, “Standard Specification for Use of Expanded Shale, Clay and Slate (ESCS) as a Mineral Component in the Growing media and the Drainage Layer for Vegetative (Green) Roof Systems”.
      30. ASCE/SEI 7, “Minimum Design Loads for Buildings and Other Structures (latest edition).
      31. ANSI/SPRI RP-14, “Wind Design Standard for Vegetative Roofing Systems”.
      32. ANSI/SPRI VF-1, “External Fire Design Standard for Vegetative Roofs”.
      33. CSA-A123.24, “Standard test method for wind resistance of vegetated roof assembly”.
    10. European Federation of Green Roof and Wall Association.
    11. Landscape Development and Landscaping Research Society e.V. (FLL) (Forschungsgesellschaft Landschaftsentwicklung Landshafstbau e. V.), “Guidelines for the Planning, Construction and Maintenance of Green Roofing”, 2018.
    12. National Roofing Contractors Association (NRCA), “Vegetative Roof Systems Manual, Second Edition”, 2009.
  4. This Standard also incorporates ideas and best practices adapted from the following publications:
    1. Dvorak, Bruce. “Designing and Planting Climate Resilient Green Roofs”, Living Architecture Monitor, Summer 2021.
    2. Miller, Roxanne and Nataliia Gerzhova. “Understanding the Behaviour of Fire and Green Roofs”. Living Architecture Monitor, Summer 2021.

1.1.1.4. Defined Terms

  1. Words that appear in italics are defined in the Glossary. Where terminology has been adopted from a referenced document (See Article 1.1.1.3.), the terms are not italicized and reader must consult the external resource.
  2. In addition to common defined terms used throughout this Standard, the following defined terms are unique to this Standard:
    1. Coordinating Registered Professional has the same general meaning as Design Authority but specifically refers to the design professional responsible for complying with all codes and by-laws, as required in the "British Columbia Building Code" and the "Vancouver Building By-Law" (Books I and II).
    2. Cultivated assembly means a vegetated roof assembly that is cultivated to grow annual or perennial plants intended for cutting and harvesting (e.g., rooftop farms and gardens).
    3. Extensive green roof (Also referred to as "extensive vegetated roof system", "extensive assembly", or "extensive") means a relatively light-weight green roof that is often inaccessible, is typically shallow (growing media no deeper than 203.2 mm (8”)) is comprised of limited plant diversity (often, plant species of the same genus), and requires minimal maintenance (See Note A-1.1.3.2.).
    4. Finished roof system surface means the top surface of any roof system, inclusive of ballast or overburden.
    5. Green roof ("green roofing") has the same meaning as vegetated roof assembly.
    6. Green roof design professional ("design professional") means the person or persons qualified in the work of designing a green roof system, which may mean a landscape architect, a Green Roof Professional, or another professional skilled in the work concerned (See Article 1.1.1.7. and Article 1.1.1.8.).
    7. Intensive green roof (Also referred to as "intensive vegetated system", "intensive assembly", or "intensive") means a heavier green roof that is usually accessible to people, is generally deep (growing media greater than 355.6 mm (14”), supports a very diverse plant profile that may include trees, and requires considerable maintenance (See Note A-1.1.3.2.).
    8. Manufacturer means the Associate Member of the RCABC who manufactures the primary roof covering of the supporting roof assembly.
    9. Observer means a firm or person paid by the building owner (directly, or through the RGC), who is independent (not a member) of the RCABC, and who is accepted by the RGC to provide Quality Assurance reviews during construction and after completion of the project, according to the terms and conditions set out in RCABC policy.
    10. Qualified green roof installer ("Installer") means a Contractor or an Affiliate Member of the RCABC that meets the qualification requirements of this Standard (See Article 1.3.2.3.).
    11. Qualified green roof project manager ("Project Manager") means an established employee of the Contractor who meets the qualification requirements of this Standard (See Article 1.3.2.3.).
    12. Semi-intensive green roof (Also referred to as "semi-intensive vegetated system", "semi-intensive assembly", or "semi-intensive") means a mid-weight, moderate height green roof that may be accessible to people, is generally of moderate depth (growing media depth ranging from 152.4 mm (6”) to 355.6 mm (14”), is typified by increased plant diversity, and requires moderate maintenance (See Note A-1.1.3.2.).
    13. Separation zone ("vegetation-free zone") means a border area free of growing media or vegetation that separates a vegetated roof system from adjacent walls, parapets, drains, curbs, and penetrations.
    14. Single source warranty agreement means an agreement between an RCABC Associate member and an RCABC Affiliate member, in which the Associate member permits the Affiliate member’s vegetated roof system on the Associate member’s primary roof covering without compromising coverage under the RoofStar Guarantee Program. A single source warranty agreement may be a standing agreement with a manufacturer, or it may be project-specific. For a single source warranty agreement to be valid, the agreement must be formalized and the signed, dated document shall form part of the Guarantor’s records.
    15. Vegetated roof assembly ("VRA"), used interchangeably in this Standard with green roof or green roofing, means a functional arrangement of interacting components, inclusive of vegetation, that is designed in conjunction with a supporting roof assembly, is intended to both grow and flourish, and is often installed on a roof to control the rate of rainwater discharged through a storm drainage system.
    16. Vegetated roof system ("vegetated roof", "vegetated roofing") means the functional arrangement of green roof components, inclusive of vegetation, apart from the supporting roof assembly.
    17. Vegetated roof system manufacturer means an Associate or Affiliate member of the RCABC who manufactures the vegetated roof system (when an Affiliate member of the RCABC is the vegetated roof system manufacturer, there must be a formalized single source warranty agreement with a roof system manufacturer who is an Associate member of the RCABC).
    18. Vegetation ("plants") means any live plant or portion of a plant (i.e., a cutting or plug), including pre-planted trays, mats, potted plants, and trees or shrubs with wrapped root balls.


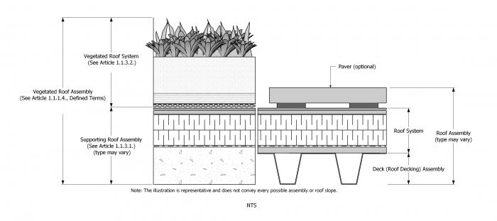
Figure 1.1.1.4.
Assembly and System
Forming Part of Sentence 1.1.1.4.(13) and Sentence 1.1.1.4.(14).
(Click to expand)
Figure 1.1.1.4. - Roof System, Roof Assembly.png


1.1.1.5. Undefined Terms

  1. The following undefined terms are used throughout this Standard and are not formatted differently from the body of text:
    1. The term “primary vegetated roof system” means the vegetated roof system installed directly over the supporting roof assembly, as distinct from the vegetated roof system installed inside planters.
    2. The term “bulk material” refers to anything that is usually supplied by volume, as for example growing media or gravel used in separation zones.

1.1.1.6. Objectives

  1. Every vegetated roof system shall ensure that it does not adversely affect
    1. the structural integrity of the building,
    2. the waterproofing integrity of the supporting roof assembly, and
    3. the health and vitality of the vegetation.
  2. Every vegetated roof system shall conform to the Building Code or By-law having jurisdiction.
  3. Every roof system that is part of a vegetated roof assembly shall conform to the applicable Standard in Division B of the RCABC Roofing Practices Manual.

1.1.1.7. Responsibility for Design

  1. Each design of a vegetated roof system shall be undertaken by a person or persons qualified in the work concerned (See Note A-1.1.1.7.(2))
  2. The Coordinating Registered Professional is responsible for ensuring the design of the vegetated roof assembly complies with all applicable building, energy, and fire codes having jurisdiction (See Article 1.1.1.9. and Article 2.1.4.3.).

1.1.1.8. Pre-Design Requirements

(See Note A-1.1.1.8.)

  1. The Coordinating Registered Professional is responsible to ensure that the vegetated roof assembly design is a multi-disciplinary enterprise that aligns with the designs for structural, plumbing, mechanical, electrical, architectural, building envelope, landscaping, together with all trades whose work intersects with vegetated roofing, to minimize out-of-sequence operations that could compromise the integrity of the green roof (See Article 10.1.3.2., “Sequencing of Operations” and Article 10.3.2.1., “Coordination of Work”).
  2. The vegetated roof assembly must be designed to accommodate expected future changes to the roof or its occupancy, as later modifications that directly impact the assembly and the RoofStar Guarantee may significantly alter or even void coverage (See Article 1.1.1.2., “Coverage and Limitations”; see also Article 11.3.2.7., “Removal and Repair”).
  3. All vegetated roof assemblies should be designed with or by a professional skilled in the work concerned, using the Critical Path Method.

1.1.1.9. Suitability of Design

(See also Sub-sections 2.1.3. and 2.1.4.)

  1. The Design Authority is responsible for determining the appropriate vegetated roof assembly design and must consider (without limitation)
    1. the structural capabilities or limitations of the building,
    2. fire resistance and the roof class requirements for the building (See Article 2.1.4.3. and Article 7.1.3.1.),
    3. local climate, as it has a bearing on
      1. exposure to wind loads (uplift and shear, for example),
      2. rapid drying conditions (caused, or exacerbated by, wind and extreme heat),
      3. frost (including “night sky effect”),
      4. available direct and indirect sunlight, and
      5. winter freezing cycles,
    4. the effects of nearby structures (as these affect exposure to light and weather),
    5. reflected heat stress,
    6. aesthetics,
    7. permissible vegetated roof systems (See Article 1.1.3.2.),
    8. the limitations of available water for irrigation (See Article 8.1.3.1.), and
    9. maintenance requirements.
  2. Details at plane changes of the supporting roof assembly must be capable of handling inter-plane movement, i.e., at deck-to-wall intersections.
  3. When the design specifies a semi-intensive or intensive vegetated roof system, any insulation in the supporting roof assembly must possess a minimum compressive strength of 275 kPa (40 psi) but shall in any event utilize insulation and other system materials capable of supporting all anticipated loads (See Article 3.1.3.4.).
  4. While slope is required for every supporting roof assembly (See Article 2.1.3.1.) structural slope is strongly recommended for protected membrane assemblies (inverted roofs); using tapered insulation to generate slope may negate ELD effectiveness and may affect the dew point of the roof assembly (for more on the dew point in protected roof assemblies, refer to the Article in Division E of the RPM on Protected and Modified Protected Roof Systems).

1.1.2. Guarantee Requirements

1.1.2.1. RoofStar Vegetated Roof Guarantee

  1. To qualify for a RoofStar Vegetated Roof Guarantee,
    1. a vegetated roof assembly shall comply with the requirements in this Part,
    2. only new materials may be specified for and installed in both the supporting roof assembly and the green roof,
    3. the supporting roof assembly for the green roof shall qualify for a RoofStar Guarantee, and coverage for both the supporting roof assembly and green roof shall commence simultaneously,
    4. the green roof shall be concurrently warrantied by the vegetated roof system manufacturer, exclusive of vegetation (unless otherwise covered by this Guarantee), for a period of not less than two (2) years from the commencement of the RoofStar Guarantee term, and
    5. the Contractor shall furnish to the Guarantor a copy of the maintenance contract with a qualified green roof installer, which shall remain in effect for the full term of the RoofStar Guarantee.

1.1.2.2. Reserved

1.1.2.3. Quality Control

  1. Notwithstanding any other requirements in this Standard,
    1. the Contractor shall
      1. bid the project to meet the more stringent of this Standard or the project specifications,
      2. bid the project to include only RGC-accepted systems and materials,
      3. ensure that the supporting roof assembly conforms to the requirements and limitations of Article 1.1.3.1.,
      4. ensure that the vegetated roof system conforms to the requirements and limitations of Article 1.1.3.2.,
      5. notify the Observer at least 24 hours before construction is scheduled to start or resume (72 hours notice is required for projects further away than 100 km),
      6. ensure that the vegetated roof system is constructed by a qualified green roof installer,
      7. ensure that construction conforms to this Standard and exhibits good workmanship,
      8. ensure that samples, reports, shop drawings, ELD arrangements, certificates, single source agreements, the maintenance contract, manufacturer approvals, warranty documentation, and all other submittals are collected and provided to the Guarantor as required in Article 1.3.2.4.,
      9. ensure that the constructed vegetated roof system is actively maintained by a qualified green roof installer, immediately after installation, and
      10. abide by all pertinent RCABC policies.
    2. the qualified green roof installer who installs the vegetated roof system for a Contractor shall
      1. ensure that the vegetated roof system and its components are accepted by the RGC and listed in Division C of this Manual,
      2. install the vegetated roof system in keeping with the requirements of this Standard,
      3. ensure that the growing media conforms to the requirements set out in this Standard, and
      4. ensure, together with the Contractor, that the growing media is sampled and tested before delivery to the project site, in accordance with the requirements of this Standard.
    3. the qualified green roof installer who contracts with the Contractor to maintain the vegetated roof system shall
      1. prepare and submit to the Contractor a written maintenance plan and schedule for the green roof ( Article 11.1.3.2.),
      2. immediately commence maintenance of the vegetated roof system, upon completion of its construction, and
      3. provide maintenance reports to both the Contractor and the Guarantor.

1.1.2.4. Quality Assurance

(See Note A-1.1.2.3.)

  1. Notwithstanding any other requirements in this Standard, the Observer shall
    1. review the construction of the vegetated roof system for conformance with this Standard, according to the prescribed number of observations, with consideration for the expected duration of construction,
    2. review and record the growing media blend certificate and note in the first report whether or not it conforms to this Standard (See Article 1.3.2.4., Article 7.1.2.1., and Article 7.1.3.1.),
    3. obtain no fewer than two (2) random samples of the soil for each 2500 square feet (nom.) of vegetated roofing, taken from different locations, once the growing media has been installed but before it is watered and compacted; samples shall be documented and retained by the Guarantor for the duration of the Guarantee Period (See Article 7.1.3.1.),
    4. sample the growing media according to the procedures in Section 9.4 of the “Green Roof Installation and Maintenance Professional Resource Manual,”
    5. ensure that each growing media sample
      1. measures at least 250 ml (1/2 cup) in volume,
      2. is collected using a stainless steel or plastic garden trowel (no galvanized tools may be used, as they can contaminate the samples),
      3. is collected in large, sturdy, clean, sealable plastic bags,
      4. is labelled on the bag with indelible ink or marker, showing the date, time, project name, project number, roof area, depth at which the sample was taken, and the name of the qualified green roof installer,
      5. is marked on a roof plan, and
      6. is sealed with high-adhesive tape across the sealed edge of the bag (use a tape that cannot be peeled back and resealed; tape brands used to seal polyethylene sheet plastic are preferable); the tape must bear the Observer’s signature to validate chain of custody,
    6. deliver to the Guarantor all sealed and labeled bags of growing media samples, together with the marked roof plan, to be stored for the duration of the Guarantee Period, and
    7. verify, at the time of scheduled performance reviews, that actual maintenance of the vegetated roof system supports the reports submitted to the Guarantor by the qualified green roof installer.

1.1.3. All Systems

1.1.3.1. Permitted Supporting Roof Assemblies

(See Note A-1.1.3.1.)

  1. Subject to the conditions and limitations described in this Standard, only waterproofing roof assemblies constructed with a new membrane, which support a vegetated roof system conforming to the requirements in Article 1.1.3.2., qualify for a RoofStar Vegetated Roof Guarantee; waterproofing roofs that have been recovered, and water-shedding roof assemblies (i.e., ASM, asphalt shingles), are not suitable and therefore are not permitted.
  2. An extensive green roof may be supported by a roof assembly secured as
    1. a fully adhered (AARS) conventionally insulated roof system,
    2. a partially attached (PARS) conventionally insulated roof system, but only when screw fasteners are installed in the system below an RGC-accepted rigid insulation overlay panel selected from Division C in the Manual (min. 12.7 mm (1/2”) thickness; min. compressive strength 552 kPa (80 psi)), or
    3. a protected membrane roof system constructed with a fully adhered membrane.
  3. Only a protected membrane roof system built on a suitable deck may be used to support a semi-intensive green roof or intensive green roof, provided the membrane satisfies the requirements in Section 9.1. of the applicable Standard for the supporting roof assembly and is capable of resisting hydrostatic pressure (See Article 1.1.4.1.).
  4. Roofs with slopes equal to or greater than 1:6 (2” in 12”) must be uninsulated and waterproofed with a membrane acceptable to the Guarantor.

1.1.3.2. Permitted Vegetated Roof Systems

(See Note A-1.1.3.2.)

  1. To qualify for a RoofStar Vegetated Roof Guarantee a vegetated roof system must be produced, distributed, and warrantied by a vegetated roof system manufacturer and physically supported by a waterproofing (membrane) roof assembly that concurrently qualifies for a RoofStar Guarantee (vegetated roof systems installed on roofs without a RoofStar Guarantee do not qualify for coverage under this Program).
  2. A vegetated roof system that qualifies for a RoofStar Vegetated Roof Guarantee may also be installed in structural or non-structural planters so that both are covered by the same Guarantee, provided
    1. the vegetated roof system manufacturer will warranty the system in the planters,
    2. structural planters conform to the requirements in Part 10 of this Standard and of the Standard for the supporting roof assembly, and
    3. non-structural planters are physically attached to or form part of the primary vegetated roof system (planters by themselves, or planters that are isolated from the rest of the vegetated roof system, do not qualify for a RoofStar Guarantee).
  3. All accepted vegetated roof systems shall, at a minimum, be comprised of a root barrier, a drainage layer, a protection layer, a vapour diffusion membrane, filtration layer, growing media, and vegetation (See Article 5.2.1.2. for root barrier material requirements).
  4. A green roof that qualifies for a RoofStar Vegetated Roof Guarantee shall be designed to meet the objectives in Article 1.1.1.6. and shall also
    1. preserve life safety of building occupants, including those who access the roof (See Part 2),
    2. resist displacement by wind (See Part 3),
    3. collect and drain precipitation (See Part 5 and Part 7),
    4. suit the roof environment, irrigation needs, and growing media depth (See Note A-1.1.3.2.(1)(9). Also see Part 1 and Part 9), and
    5. promote maintenance of both the vegetated roof system and the supporting roof assembly (See Article 1.1.3.3., Part 8, and Part 11).
  5. Only extensive vegetated roof systems may be installed over a conventionally insulated roof assembly, subject to the limitations in Article 1.1.3.1.; because of the potential for significant system loads imposed on the supporting roof assembly, semi-intensive and intensive vegetated roof systems must be installed over an uninsulated or protected membrane roof assembly.
  6. Blue-green (“hybrid”) vegetated roofs are permissible, provided
    1. water is detained or retained in purpose-made materials (usually in the form of mats) that are proprietary to the vegetated roof system manufacturer,
    2. free-standing water is detained or retained in voids, using materials that are proprietary to the vegetated roof system manufacturer, and
    3. detained or retained water does not saturate or otherwise adversely affect the growing media or vegetation.
  7. A blue-green vegetated roof system may be installed over a conventionally insulated roof assembly, but only when the blue-green vegetated roof system captures water in purpose-made detention or retention materials as described in Clause 1.1.3.2.(6)(1) (free-standing water is not permissible).
  8. A blue-green vegetated roof system must be installed over an uninsulated or protected membrane roof assembly when it is designed to detain free-standing water held in a void between the vegetated roof system and the roof membrane.
  9. The use of flow control drains in a blue-green roof is permissible provided
    1. the resultant loads from detained or retained water can be supported by the roof structure,
    2. the supporting roof assembly is designed and constructed as a protected membrane roof assembly,
    3. the detention or retention of water on the roof is permitted by the Authority Having Jurisdiction,
    4. the growing media is sufficiently elevated above the retained or detained water, to avoid saturation or erosion, and
    5. the manufacturer of the membrane for the supporting roof assembly has granted written consent in respect of the membrane’s ability to resist hydrostatic pressure (See Sentence 1.1.4.1.(1)).
  10. Vegetated assemblies designed for walls or slopes greater than 1:1 (12” in 12”) do not qualify for a RoofStar Vegetated Roof Guarantee (See Article 2.1.3.1.).
  11. Rooftop farms and gardens (cultivated assemblies)
    1. shall be designed as part of a protected roof assembly,
    2. shall be designed with additional protection for the supporting roof assembly (See Article 5.1.3.1.), and
    3. are ineligible for coverage applicable to both the growing media and vegetation.
  12. An existing vegetated roof system that is renovated may qualify for a RoofStar Guarantee, provided
    1. the supporting roof assembly membrane is new and qualifies for a RoofStar Guarantee,
    2. all components of the vegetated roof system are new or will be expressly warrantied by the vegetated roof system manufacturer, and
    3. the existing growing media is acceptable to the vegetated roof system manufacturer (See Article 7.1.3.1.).

1.1.3.3. Establishment and Maintenance

(See Note A-1.1.3.3.)

  1. Every vegetated roof assembly
    1. must be designed to achieve a reasonable state of vegetation establishment based on the type of vegetated roof system, the system’s plant profile, the planting schedule, and supporting irrigation (See Article 11.3.2.1.),
    2. must include maintenance plans and procedures for ongoing maintenance after establishment (See Article 11.1.3.2.), and
    3. must be designed to provide safe access for maintenance, where the roof is at least 3 m (10’) above the surface of the ground, or where a hazard to a person exists, should a fall be possible (this requirement also applies to roof areas intended for regular occupancy).
  2. Intensive and semi-intensive vegetated roof assemblies must be accessible for maintenance directly from a floor or via a staircase; hatch access is permissible only for extensive vegetated roof assemblies.
  3. Design elements to mitigate fall hazards should align with the Code having jurisdiction, and with the Workers Compensation Act Regulations, and should include
    1. perimeter walls (i.e., parapets) that satisfy minimum Building Code, local by-laws, and WorkSafeBC occupational health and safety requirements for walls used as fall restraint,
    2. guardrails, or
    3. tie-off anchors.
  4. All roofs with a field elevation greater than 6096 mm (20’) above grade must incorporate access to the roof by stairs and a doorway or with a properly located roof hatch.
  5. Any hatch, ladder or mechanical unit should be located a sufficient distance away from the roof edge (setback zone) so that other fall protection measures are not required by those using or accessing the roof to service it.
  6. When it is not possible to situate a hatch, ladder, or mechanical unit outside the setback zone, guard rails should be designed for the roof edge to provide additional fall protection for those using or accessing such equipment.

1.1.3.4. Electronic Leak Detection

(See Note A-1.1.3.4.)

  1. Electronic Leak Detection (ELD), when specified by the Design Authority, shall conform to
    1. ASTM D7877, "Standard Guide for Electronic Methods for Detecting and Locating Leaks in Waterproof Membranes", or
    2. ASTM D8231, "Standard Practice for the Use of Low Voltage Electronic Scanning System for Detecting and Locating Breaches in Roofing and Waterproofing Membranes."
  2. Electronic Leak Detection is recommended for all vegetated roof systems but required when they are installed at grade (Ref. RGC "Standard for Grade-level Waterproofing Systems").
  3. When Electronic Leak Detection is specified, it shall provide detection capabilities for all waterproofed surfaces, and should extend at least 50.8 mm (2") vertically from the drainage plane at
    1. all transitions,
    2. any point along the entire deck perimeter, and
    3. protrusions.

1.1.3.5. Reserved

1.1.3.6. Variances

  1. When a design is unable to conform to the Standard, the Design Authority may apply to the RGC for a written Variance.
  2. Application for a written Variance must be made in writing (email correspondence is common), and must
    1. identify the project name and its civic address,
    2. identify the RoofStar Vegetated Roof Guarantee number (if assigned),
    3. identify the Contractor (if awarded),
    4. identify the type of RoofStar Guarantee (i.e., RoofStar Vegetated Roof Guarantee),
    5. articulate the nature of the design problem,
    6. identify the RoofStar Guarantee requirement to be varied, and state the desired modification (i.e., reduce the requirement for 203.2 mm (8") to 152.4 mm (6")),
    7. cite the reference to which the Variance will apply (i.e., Standard name, article number, sentence number, etc.), and
    8. provide design drawings, photographs, and roof plans, referencing grid lines that identify or articulate the boundaries to which the Variance will be applied.
  3. Variances are issued by the RGC only to the Design Authority and will be distributed to the Contractor.
  4. A Variance is valid only if it receives the full written support of the vegetated roof system manufacturer.
  5. A Variance may be unrestricted in its scope, or it may include one or more conditions, or a restriction in coverage, that will affect the design and construction of the project, to accommodate the varied standard, but this is at the discretion of the Guarantor.
  6. Variances are issued only for the project-specific issue identified in the written request, and do not constitute general permission to depart from the published requirements in this Standard, for any aspect of the same project or for future projects, designed or constructed by any other firm.

1.1.4. General Design Requirements

1.1.4.1. Supporting Roof Assemblies

  1. Where a vegetated roof assembly will detain standing water to a depth greater than 12.7 mm (1/2”) on the membrane of the supporting roof assembly, the membrane must be suitable for the purpose and approved in writing by the roof system manufacturer for use under hydrostatic pressure (see Article 1.3.2.4., “Contractor Submittals”).

1.1.4.2. Rainwater Detention and Release

  1. Every vegetated roof system shall conform to the minimum rainwater detention and discharge rates published by the municipal or regional Code, By-law, or regulation having jurisdiction.

1.1.4.3. Protection of Vegetated Roofs

(See Note A-1.1.4.3.)

  1. Every roof must be designed to promote the growth and vitality of the vegetation, including (without limitation)
    1. proper slope for drainage,
    2. protection from wind,
    3. protection from emissions,
    4. protection from displacement and erosion, and
    5. protection from concentrated reflected light.
  2. Designated walkways for service access to rooftop mechanical equipment must be incorporated in the vegetated roof assembly design.

1.1.5. Reserved

Section 1.2. Reserved

Section 1.3. Application

1.3.1. Reserved

1.3.2. All Systems

1.3.2.1. Responsibility for Construction

(See Article 10.1.3.2.)

  1. The Contractor is responsible to deliver the project RoofStar Vegetated Roof Guarantee certificate and therefore the Contractor shall be responsible to ensure the vegetated roof assembly is complete and ready for review by the assigned Observer.

1.3.2.2. Workmanship

  1. The installer of a vegetated roof system must take reasonable measures to protect the project from damage by other trades, during and at the completion of the project.

1.3.2.3. Trade Qualifications

  1. Each installation of a vegetated roof system must be coordinated and supervised by a trained qualified green roofing project manager who is an established employee of the Contractor.
  2. Every qualified green roof project manager
    1. shall be journeyperson-certified as a professional roofer or possess comparable education and experience,
    2. shall have completed the project manager course offered by the RGC, and
    3. must hold a valid Green Roof Installation and Maintenance Professional (GRIMP) certificate issued by Green Roofs for Healthy Cities, or other training deemed equivalent by the Guarantor.
  3. A Green Roof Professional (GRP) designation is recommended for project managers.
  4. Installation of a RoofStar-guaranteed vegetated roof assembly shall be conducted only by a qualified green roof installer.
  5. Every qualified green roof installer shall employ
    1. at least one person in a senior supervisory role who holds a Green Roof Professional (GRP) designation (documented equivalent training and experience will be considered acceptable by the Guarantor, provided it is also acceptable to the vegetated roof system manufacturer), and
    2. at least one person in a field supervisory role who holds a valid Green Roof Installation and Maintenance Professional (GRIMP) certificate issued by Green Roofs for Healthy Cities, or who can demonstrate equivalency to the satisfaction of the Guarantor.
  6. Maintenance of a vegetated roof system shall be undertaken only by a trained, established employees of a qualified green roof installer, and shall be supervised by the employer.

1.3.2.4. Contractor Submittals

  1. The Contractor shall provide to the Guarantor, with the application for a RoofStar Vegetated Roof Guarantee,
    1. design specifications and drawings issued for construction, for the vegetated roof system,
    2. a copy of the maintenance contract between the Contractor and the qualified green roof installer, for maintenance of the vegetated roof system, and
    3. a copy of the single source warranty agreement between the vegetated roof system manufacturer and the roof system manufacturer, when applicable.
  2. The Contractor shall provide to the Guarantor, prior to issuance of a RoofStar Vegetated Roof Guarantee,
    1. the designed securement of the vegetated roof system (including shop drawings), and when the design is custom-engineered (See Article 3.1.3.3.) the design package shall bear the original stamp of the registered professional who designed the system securement or validated the design (Ref. Part 3),
    2. design drawings bearing the signed stamp of a registered professional, showing the securement of anti-shear retention measures on vegetated roof system designed for slopes greater than 22° (See Article 2.1.3.2.),
    3. the design and monitoring arrangements (if any) for electronic leak detection (ELD),
    4. the certificate from the growing media supplier, certifying the soil’s origins and specifications (See Article 7.2.1.1.),
    5. written approval from the roof system manufacturer stating that the application of the waterproofing membrane is suitable for use under hydrostatic pressure (applicable only when the design requires the detention of standing water to a depth greater than 12.7 mm (1/2”) in so-called “blue-green” ("hybrid") roof systems; see Article 1.1.4.1.),
    6. the maintenance plan and schedule obtained from the qualified green roof installer, and
    7. a copy of the vegetated roof system manufacturer warranty for the vegetated roof system.
  3. The Contractor shall, during the Guarantee Period and as part of its obligations under policy, ensure that the qualified green roof installer submits maintenance logs to the Guarantor as maintenance is completed, demonstrating that the vegetated roof system is maintained according to the requirements of this Standard (Ref. Article 11.3.2.2.).

1.3.3. Reserved

1.3.4. Reserved


Part 2 – Structural Support and Safety

Section 2.1. Design

2.1.1. General

2.1.1.1. Scope

  1. The scope of this Part and the Standard shall be as described in Division A, Part 1.

2.1.1.2. Defined Terms

  1. Words that appear in italics are defined in the Glossary. Additionally, the following terms are used in this Part:
    1. Angle of repose means the steepest angle at which particular loose material is stable.
    2. Common Slope means a roof with a slope 1:3 (4” in 12”, or 18°), up to and including 1:1 (12” in 12”, or 45°).
    3. Extreme Slope means a roof with a slope greater than 21:12 (21” in 12”, or 84°).
    4. Flat (roof) means a roof with a slope less than 1:6 (2” in 12”, or 9°).
    5. Low Slope means a roof with a slope 1:6 (2" in 12", or 9°, up to but less than 1:3 (4” in 12”, or 18°).
    6. Steep Slope means a roof with a slope greater than 1:1 (12” in 12”, or 45°) up to and including 21:12 (21” in 12”, or 84°).
    7. Supporting deck ("deck") means the "structural surface to which a roof system is applied" (adapted from ASTM D1079-18, "Standard Terminology Relating to Roofing and Waterproofing").

2.1.2. Guarantee Term Requirements

2.1.2.1. RoofStar Vegetated Roof Guarantee

  1. To qualify for a RoofStar Vegetated Roof Guarantee, all projects shall comply with the requirements in Article 1.1.2.1., the requirements in this Part, and the requirements of the Standard governing the supporting roof assembly.

2.1.2.2. Reserved

2.1.3. Roof Slope

2.1.3.1. General Requirements for Roof Slope

  1. All roof assemblies that support a vegetated roof system shall be constructed with a minimum slope of 1:50 (1/4” in 12”; 1 degree or 2%), measured on the primary sloped planes of the roof assembly (See Note A-2.1.3.1.(1)); also see Article 1.1.1.9., “Suitability of Design”).
  2. Roofs with slopes greater than 1:1 (12” in 12”; 45° or 100%) do not qualify for a RoofStar Vegetated Roof Guarantee.

2.1.3.2. Vegetated Roof Systems on Slopes Greater Than 1:6

  1. All vegetated roof assemblies with a designed slope greater than 1:6 (2” in 12”) shall be reviewed by the Design Authority to ensure that any and all materials in the green roof system resist slippage (shear loads) (See Article 1.1.1.9.; also see Article 3.3.4.1. and Article 7.1.4.1.).
  2. When the design slope of a vegetated roof system exceeds the greater of the angle of repose for loose materials, or 1:1.25 (4.75” in 12”, or 22°), the design must be reviewed and accepted by the Authority Having Jurisdiction (AHJ), and its acceptance by the AHJ, along with the engineering of anti-shear measures (stamped by a Registered Professional) shall be submitted by the Contractor in the application for a RoofStar Vegetated Roof Guarantee to the Guarantor as information to be kept on file (Ref. Article 1.3.2.4.).


Figure 2.1.3.1.
Roof Slopes
Forming Part of Article 2.1.3.1.
(Click to expand)
Figure 2.1.1.2.-A (Slopes).jpg

2.1.3.3. Reserved

2.1.4. Structural and Life Safety

2.1.4.1. Structural Loads

(See Note A-2.1.4.1.)

  1. All load calculations shall be performed by a registered professional skilled in the work concerned.
  2. The structural design for the roof should allow for loads during construction of the vegetated system, and for loads arising during potential repairs.
  3. The Design Authority is responsible to determine all loads arising from the construction of the specified vegetated roof system, and must consider (without limitation)
    1. seismic shear loads,
    2. the dead load of the vegetated roof system when fully mature and saturated with water, and
    3. live loads during construction and after commissioning, including environmental loads such as rain and snow, expected for the building’s size and location,
    4. shear ("drag") loads (See Article 3.3.4.1.),
    5. loads from other overburden (Ref. Part 14 in the related waterproofing roof Standard), and
    6. thermal expansion and contraction of the roof system components.
  4. The determination of structural loads should incorporate the practices and test methods published in the following documents:
    1. ASTM E2397/E2397M – 15, “Standard Practice for Determination of Dead Loads and Live Loads Associated with Vegetative (Green) Roof Systems”.
    2. ASTM E2399/E2399M – 15, “Standard Test Method for Maximum Media Density for Dead Load Analysis of Vegetative (Green) Roof Systems”.

2.1.4.2. Specified Wind Loads

  1. The Design Authority shall design the vegetated roof system to resist displacement by expected wind conditions (See Part 3 in this Standard for wind resistance requirements).

2.1.4.3. Fire Safety

  1. The Design Authority is responsible to determine the level of fire safety for the VRS, based on the design standards published in ANSI/SPRI VF-1, “External Fire Design Standard for Vegetative Roofs”.
  2. When the organic content of the growing media exceeds 20% by volume, the supporting roof assembly should have a ULC Class A rating, but this is subject to requirements of the Code having jurisdiction (See Article 1.1.1.9. and Article 7.1.3.1.).

2.1.4.4. Occupant and Maintenance Worker Safety

  1. When a VRS is intended for human access, the Design Authority is responsible to incorporate into the roof design fall protection measures (including protection around skylights and clerestory windows) that conform to the requirements of the By-law or Building Code having jurisdiction, and to WorkSafeBC regulations.
  2. A roof supporting a vegetated roof system shall be designed to protect maintenance workers from fall hazards (See Article 1.1.3.3.).

2.1.5. Roof Decks

2.1.5.1. Suitability of Roof Deck

  1. A roof deck must conform to the requirements in Sub-section 2.1.5. of the applicable Standard for the supporting roof assembly.
  2. When a wood structure supports a vegetated roof system, the deck and any vertical planes that contact the vegetated roof system should be pressure-treated tongue-and-groove plywood at least 19.05 mm (3/4”) thick, but when the existing deck and adjoining wall surfaces are untreated wood, they should be overlaid with no less than one layer of pressure-treated tongue-and-groove plywood at least 12.7 mm (1/2”) thick, secured with material-compatible screw fasteners (See Note A-2.1.5.1.).

2.1.6. Expansion and Control Joints

2.1.6.1. General Requirements

  1. Expansion joint and control joint (roof divider) design shall conform to the requirements of the specified membrane roof system Standard and shall be isolated from the vegetated roof system with a separation zone (Ref. Article 5.1.3.3.)
  2. Expansion joints must be elevated at least 203.2 mm (8”) above the finished roof system surface, a requirement which may not be reduced through a written Variance.

2.1.7. Reserved

2.1.8. Reserved

Section 2.2. Reserved

Section 2.3. Reserved


Part 3 - Securing the Vegetated Roof Assembly

Section 3.1. Design

3.1.1. General

3.1.1.1. Scope

(See Note A-3.1.1.1.)

  1. The scope of this Part and the Standard shall be as described in Division A, Part 1.
  2. This Part applies to all vegetated roof systems.

3.1.1.2. Intent

(See Note A-3.1.1.2.)

  1. The requirements in this Part intend to support and conform to or exceed the Building Code.

3.1.1.3. Limit of Liability under RoofStar Guarantee

  1. Notwithstanding Article 3.1.1.2., the materials presented herein are based on an interpretation of the Code and are not the Code itself; therefore, the reader is responsible to exercise good judgement, and to read, understand and comply with the Code, as and how it applies to the reader’s particular project and its design requirements.
  2. Where the Code can be shown to exceed the requirements, guiding principles, and recommendations of this Part or any related Part in this Standard, the Code shall prevail.
  3. Regardless of any warranty offered by the vegetated roof system manufacturer of a vegetated roof system concerning wind resistance, whether expressed or implied, compliance with this Part or the Code does not guarantee that a roof will not succumb to forces exerted by wind, and therefore neither the Guarantor nor the Contractor will accept any responsibility for damage to, or failure of, a roof system caused by wind; too many variables beyond the control of this Standard affect the wind resistance performance of a roof system, including (without limitation)
    1. the continuity or discontinuity of air and vapour control layers of the entire building enclosure,
    2. openings in the building (windows and doors, which are often occupant-controlled and not static), and
    3. wind strength, which may exceed the codified numeric wind speed values used to calculate wind resistance for the roof system (Ref. "British Columbia Building Code", Division B, " Appendix C, "Table C-1").

3.1.1.4. Defined Terms

  1. Words that appear in italics are defined in the Glossary. Additionally, the following terms are used in this Part:
    1. CSA Standard means the CSA-A123.21, "Standard test method for the dynamic wind uplift resistance of membrane-roofing systems" (latest edition).
    2. CSA VRA Standard means the CSA-A123.24, “Standard test method for wind resistance of vegetated roof assembly”.
    3. Registered Professional has the same meaning as that used in the "British Columbia Building Code", Division C, " Section 2.2., "Administration".
    4. Specified Wind Load means the calculated force of wind exerted on the roof of a specific building, according to the requirements in the "British Columbia Building Code", Division B, Part 4, Section 4.1., "Structural Loads and Procedures".
    5. System of securement means a specific pattern of mechanical fasteners or adhesives, including specific materials or brands, size, and spacing.

3.1.2. Guarantee Term Requirements

3.1.2.1. RoofStar Vegetated Roof Guarantee

  1. To qualify for a RoofStar Vegetated Roof Guarantee, all projects shall comply with the requirements in Article 1.1.2.1., the requirements in this Part, and the requirements of the Standard governing the supporting roof assembly.

3.1.2.2. Reserved

3.1.3. All Systems

3.1.3.1. Responsibility for Design

  1. The Design Authority is responsible for determining Specified Wind Loads for each vegetated roof system and each roof area of a project that will support a vegetated roof system.
  2. Acceptance of a roof for a RoofStar Guarantee and RoofStar Vegetated Roof Guarantee is predicated on the assumption that the Design Authority has performed Due Diligence with respect to Specified Wind Loads and has provided the Contractor with sufficient information to construct a roof system that complies with the Code.

3.1.3.2. Calculation of Specified Wind Loads

  1. Vegetated Roof Systems (VRS) must be designed to resist wind loads (Specified Wind Loads), determined using the "Wind Load Calculator for Vegetated Roof Assembly" or, in the alternative, another method that is its equal or superior, for buildings up to 20 m (65') in height (Ref. Article 3.3.2.1.).
  2. A registered professional "skilled in the work concerned" must perform or validate the calculation of Specified Wind Loads (See the "British Columbia Building Code", Division C, " Article 2.2.1.2., "Structural Design"), using
    1. the "Wind Load Calculator for Vegetated Roof Assembly" (formerly "Wind-RCI"), or
    2. the formulae and procedures in the "British Columbia Building Code", Division B, Part 4, " Subsection 4.1.7.,"Wind Load" (See Note A-3.1.1.1.).
  3. Each roof area, at each level (elevation), shall be divided into three principal roof zones (Figure 3.1.3.2.-A), and the Design Authority shall be responsible for calculating the Specified Wind Loads for each zone (Ref. the "British Columbia Building Code", Division B, Part 4, " Article 4.1.7.6., "External Pressure Coefficients for Low Buildings").
  4. Roof zones are defined in this Standard as follows:
    1. Field (F) – the interior of the roof bounded by the Edge and the Corners.
    2. Edge (E) – the perimeter zone (minus the corners), measured as either 10% of the smallest building width ("least horizontal dimension"), or 40% of the building height, whichever is less. Notwithstanding the requirements in the "British Columbia Building Code", the Edge zone shall not be less than 2.0 m (7').
    3. Corner (C) – part of the perimeter but not less than 2.0 m x 2.0 m (7’ x7’) in size, the Corner area is defined by the Edge in both directions at the corners. Where the roof geometry includes an inside corner, the corner zone dimensions shall be the same as those for an outside corner, applied equidistant in each direction from the inside corner (Figure 3.1.3.2.-A).
  5. A roof area that is divided into smaller segments by means of control joints (roof dividers, i.e., a fire wall) or expansion joints, shall be considered one roof area for the purpose of calculating the Specified Wind Loads, unless the height of a control joint or expansion joint exceeds 1 m (39"), in which case the Specified Wind Loads for each roof segment shall be calculated separately (See Figure 3.1.3.2.-B).
  6. When a building is designed with multiple roof levels (at different elevations), and the roofs are adjacent each other (having a common wall), the Specified Wind Loads for each level, and for each roof area on that level, shall be calculated separately from loads for the adjacent level, unless the elevation difference between adjacent roof levels is less than 1.524 m (5’) (Ref. Figure 3.1.3.2.-B).
  7. When the shape of a single-level roof varies in width or length, the smallest width dimensions shall be used in the calculation of Specified Wind Loads (Ref. “minimum effective width” as defined in the "British Columbia Building Code", Division B, Part 4, " Article 4.1.7.2., "Classification of Buildings").
  8. When a roof area intersects the corner of a wall, the Edge zone on either side of the wall corner must be treated as a roof Corner (2 x C) (Figure 3.1.3.2.-B).
  9. All other considerations for wind-resistant design shall conform to the requirements published in the Standard for the supporting roof assembly.


Figure 3.1.3.2.-A
Calculation of Specified Wind Loads
Forming Part of Sentence 3.1.3.2.(4).
(Click to expand)
Figure 3.1.3.2.-B
Calculation of Specified Wind Loads
Forming Part of Sentences 3.1.3.2.(5), (6), and (8).
(Click to expand)
Figure 3.1.3.2.-1.jpg Figure 3.1.3.2.-2.jpg

3.1.3.3. Resistance to Specified Wind Loads

(See Note A-3.1.3.3.)

  1. The wind uplift resistance capabilities of the selected vegetated roof system must equal or exceed the Specified Wind Loads calculated for each roof zone to which the VRS will be applied (see Article 3.1.3.2.).
  2. Engineered designs to resist wind uplift may refer to the "British Columbia Building Code", Div. B, " Appendix C, "Table C-2", which lists various types of loads, including wind loads, for specific reference locations throughout the province.
  3. All designs for wind resistance, including those tested using the CSA VRA Standard, shall be reviewed by, and bear the stamp of, a registered professional skilled in the work of Division B, Part 4 of the Building Code, and the design package for securement of the vegetated roof system shall form part of the required submittals by the Contractor (See Article 1.3.2.4.).
  4. Resistance to wind loads for uninsulated and conventionally insulated roofs that support an extensive vegetated roof assembly shall be determined using the following Canadian standard test methods: CSA-A123.21, “Standard test method for the dynamic wind uplift resistance of membrane-roofing systems” and the CSA VRA Standard CSA-A123.24, “Standard test method for wind resistance of vegetated roof assembly”.
  5. When a vegetated roof system specified for an uninsulated or conventionally insulated roof has not been or cannot be tested for wind load resistance using the CSA VRA Standard CSA-A123.24, the resistance to wind loads shall be determined by a registered professional according to the requirements in Division B, Part 4 of the Building Code (See the User’s Guide – NBC 2020: Part 4 of Division B).
  6. Resistance to wind loads for vegetated roof assemblies constructed on a protected membrane roof may be designed using methods with proven past performance, but this shall be determined by a registered professional skilled in the work concerned.
  7. When the building design (i.e., roof height) exceeds the parameters of the test methods referenced above, the resistance to wind must be custom-engineered or reviewed and stamped by a registered professional skilled in the work concerned.

3.1.3.4. Resistance to Other Loads

  1. Resistance to loads other than Specified Wind Loads shall be determined in accordance with the requirements in Article 2.1.4.1., “Structural Loads”.

3.1.3.5. Submittals

  1. Refer to the requirements in Article 1.3.2.4.

3.1.4. Reserved

3.1.5. Reserved

3.1.6. Reserved

3.1.7. Roof Replacement and Alterations

3.1.7.1. Complete Roof System Replacement

  1. Complete roof system replacement projects may qualify for a RoofStar Guarantee but the project must be designed to secure the new roof system against displacement by Specified Wind Loads, and the system configuration must conform to the requirements in Article 1.1.3.1. and Article 1.1.3.2.

3.1.7.2. Partial Roof System Replacement

  1. Partial roof replacement does not qualify for a RoofStar Vegetated Roof Guarantee.

Section 3.2. Materials

3.2.1. Material Properties

3.2.1.1. Resistance to Corrosion and Deterioration

  1. All materials used to secure the vegetated roof system shall resist corrosion and deterioration resulting from exposure to the exterior environment and the vegetated roof system components or maintenance materials (i.e., fertilizers and amendments to the growing media).

3.2.2. Securement Materials

3.2.2.1. Anti-shear Devices

  1. Devices used to resist shear forces on a vegetated roof system, that attach to the building structure by penetrating the supporting roof assembly, shall be proprietary to the vegetated roof system manufacturer and must be acceptable to the roof system manufacturer.
  2. Non-penetrative anchoring devices shall be approved by the vegetated roof system manufacturer.

Section 3.3. Application

3.3.1. Guarantee Term Requirements

3.3.1.1. RoofStar Vegetated Roof Guarantee

  1. To qualify for a RoofStar Vegetated Roof Guarantee, all projects shall comply with the requirements in Article 1.1.2.1., the requirements in this Part, and the requirements of the Standard governing the supporting roof assembly.

3.3.1.2. Reserved

3.3.2. All Systems

3.3.2.1. Securement of Vegetated Roof Systems

  1. All vegetated roof assemblies must be secured against displacement by wind using methods that do not penetrate the supporting roof assembly, except where permitted by this Standard.
  2. Where a building exceeds 46 m (150’) in height above grade, the vegetated roof assembly shall be secured in accordance with the engineered design, and with the approval of the roof system manufacturer (See Article 1.3.2.4.).
  3. A vegetated roof assembly design package that bears the official stamp of a registered professional and that has been submitted to the Guarantor by the Contractor shall be acceptable to the Guarantor for the purpose of satisfying the wind resistance requirements in this Part.
  4. Vegetated roof assemblies that have not been tested for resistance to wind using CSA-A123.24 shall be engineered for wind resistance by a registered professional.

3.3.3. Vegetated Roof Systems on Protected Membrane Roof Assembly

(The requirements in Subsection 3.3.2., "All Systems", shall be read together with the following articles)

3.3.3.1. Vegetated Roof Systems Used as Ballast

  1. Where a vegetated roof system is specified as ballast for a supporting protected or modified protected roof assembly, it must be installed in keeping with the requirements in Article 10.3.2.1.

3.3.4. Vegetated Roof Systems on Slopes Greater Than 1:6

(The requirements in Subsection 3.3.2., "All Systems", shall be read together with the following articles)

3.3.4.1. Use of Anti-shear Measures

  1. Where the roof slope exceeds 1:6 and anti-shear devices will penetrate the waterproofing membrane, devices must conform to the requirements in Article 3.2.1.1. and shall be sealed into the waterproofing by the Contractor in keeping with the Standard for the supporting roof assembly (See also Article 1.1.1.9. and Article 2.1.3.2.).

3.3.5. Reserved

3.3.6. Reserved


Part 4 - Materials

Section 4.1. Design

4.1.1. General

4.1.1.1. Scope

  1. The scope of this Part and the Standard shall be as described in Division A, Part 1.

4.1.1.2. Defined Terms

  1. Words that appear in italics are defined in the Glossary.

Section 4.2. Materials

4.2.1. Material Properties

4.2.1.1. Use of Accepted Materials

(For limitations and exclusions pertaining to materials, see Division A, Article 3.2.1.2.)

  1. All materials installed as part of a vegetated roof system must be
    1. newly manufactured and may not be re-used without the expressed, written consent of the Guarantor,
    2. accepted by the RoofStar Guarantee Program, and
    3. part of a vegetated roof system warrantied by the vegetated roof system manufacturer.
  2. All uninstalled materials must be
    1. protected from weather with wrappers approved or recommended by the vegetated roof system manufacturer and vegetation supplier,
    2. properly stacked, and
    3. secured above ground or on the roof surface.
  3. The use of vegetated roof system materials with recycled content is permitted in this Standard.

Section 4.3. Application

For application (installation) of materials covered in this Part, refer to Part 10, “Installation of Vegetated Roof Systems”, and specifically to Section 10.3.


Part 5 – Protection of the Roof Assembly

Section 5.1. Design

5.1.1. General

5.1.1.1. Scope

  1. The scope of this Part and the Standard shall be as described in Division A, Part 1.

5.1.1.2. Definitions

  1. Words that appear in italics are defined in the Glossary.

5.1.2. Guarantee Term Requirements

5.1.2.1. RoofStar Vegetated Roof Guarantee

  1. To qualify for a RoofStar Vegetated Roof Guarantee, all projects shall comply with the requirements in Article 1.1.2.1., the requirements in this Part, and the requirements of the Standard governing the supporting roof assembly.

5.1.2.2. Reserved

5.1.3. All Systems

5.1.3.1. General Requirements for Protection of the Roof Assembly

  1. Regardless of how the supporting roof assembly is designed, it shall be protected from damage with a suitable protection material acceptable to the vegetated roof system manufacturer and the Guarantor.
  2. When a vegetated roof assembly is designed as a cultivated assembly or maintenance will require the use of penetrating hand or powered tools, an additional membrane protection layer is required (See Article 5.2.1.2. and Article 10.3.2.4.).
  3. Protection materials shall be specified for any rising elements of a supporting roof assembly, i.e., curbs, parapets, to be interposed between the supporting roof assembly and components of the green roof system so that any bulk materials cannot penetrate into underlying plies or layers.

5.1.3.2. Root Barriers

  1. A functional root barrier is required for all vegetated roof systems to provide suitable and lasting protection for the supporting roof assembly against root ingress or penetration.
  2. When a root barrier is installed above a conventionally insulated roof assembly, a protection layer shall be specified to separate the root barrier from drainage materials.
  3. Root barriers shall conform to the requirements in Article 5.2.1.2.

5.1.3.3. Separation of vegetation from roofing details

(See Note A-5.1.3.3.)

  1. Separation zones
    1. are required to separate growing media and vegetation from roofing work around or adjacent to (without limitation) parapets, walls (including doors and other low openings in walls), penetrations (including fall protection anchors), roof drains, scupper drains, curbs, skylights, sleepers, expansion joints, control joints, and equipment permanently mounted on the roof (i.e., antennae or items supported by a housekeeping pad),
    2. shall conform to the minimum dimensions specified in this Article (Also see Figure 5.1.3.3.-A).
    3. are not required around the exterior of non-structural planters or inside structural planters (See Article 10.1.4.1.),
    4. shall extend past the edge of roof membrane flashing in drain sumps by at least 152.4 mm (6”) when drain sumps are incorporated into the supporting roof assembly,
    5. shall be designed with non-combustible materials, and with suitable dimensions, when they are used as fire protection zones adjacent the building façade or other vulnerable structures and building details, and
    6. shall be bordered by non-penetrating restraining curbs or edging, installed around the perimeter of the vegetated roof system, that do not impede drainage (See Article 5.2.1.3.).
  2. Unless otherwise specified in this Article, the minimum width of a separation zone shall be 304.8 mm (12”), but the width of the separation zone shall be no less than
    1. 508 mm (20”) at roof edge zones, to resist Specified Wind Loads (See Article 3.1.3.3.), and
    2. 914.4 mm (36”) where the vegetated roof assembly intersects with or is adjacent to
      1. an exterior wall,
      2. a fire wall,
      3. a curbed or sleeper-mounted mechanical unit (including air intake and exhaust vents),
      4. an access hatch,
      5. a chimney (masonry or otherwise), or
      6. a garbage chute duct.
  3. Where a door opens onto a roof area supporting a vegetated roof system, or where routine maintenance activity may damage the green roof (for example, window washing), the vegetation-free separation zone shall provide suitably sized walkways or landing areas (with pavers or pedestal-supported platforms) to prevent damage to the vegetation.


Figure 5.1.3.3.-A
Separation of Vegetation from Roofing Details
Forming Part of Article 5.1.3.3.
(Click to expand)
VRA - Illustration - Figure 5.1.3.3.-A.png

Section 5.2. Materials

5.2.1. Material Properties

5.2.1.1. Membrane Protection Layer

  1. When a dedicated protection layer is required by this Standard or by the project specification, the material must be warrantied by the vegetated roof system manufacturer, it must be acceptable to the manufacturer of the roof membrane, and it shall be suitable for its application and the anticipated stresses to the vegetated roof system.

5.2.1.2. Root Barriers

(See Note A-5.2.1.2.)

  1. All root barrier materials must be part of a vegetated roof system warrantied by the vegetated roof system manufacturer.
  2. Only root barriers comprised of sheet materials that serve as a physical barrier to root penetration are acceptable for use in a vegetated roof assembly (non-proprietary sheet goods, coatings or alternative protective measures are not permissible).
  3. A root barrier may be a separate layer or combined with other materials (i.e., a drainage and filtration course), or it may be the roof membrane, provided each meets the other requirements in this Article.
  4. Notwithstanding the above, where materials other than the roof membrane serve as the root barrier,
    1. only high-density polyethylene (HDPE), flexible polyolefin (FPO), or thermoplastic polyolefin (TPO) may be used, and
    2. high-density polyethylene (HDPE) may be used only under sedums, perennials, and grasses.
  5. Chemical or liquid-applied root barriers, and low-density polyethylene (LDPE), are not permitted in this Standard.
  6. A root barrier or root-resistant roof membrane shall
    1. be suitable for the specified vegetated roof system,
    2. capably support dead loads, live loads, and point loads, without deformation or puncture,
    3. be tested for root resistance using ANSI/GRHC/SPRI VR-1, “Procedure for Investigating Resistance to Root or Rhizome Penetration on Vegetative Roofs” and obtain a “Pass” rating for root resistance, and
    4. be independently tested or validated, with a report conforming to Section 6.4 (Test Report) of the ANSI/GRHC/SPRI standard.
  7. When root barrier seam tape is required, it must be proprietary to, or supplied by and acceptable to, the vegetated roof system manufacturer.
  8. A roof membrane that is promoted as root-resistant by the vegetated roof system manufacturer of the vegetated roof system does not require a second root barrier but nevertheless must be
    1. tested for root resistance following the requirements in Sentence (5) for root barrier materials,
    2. UV-light stable (resistant to degradation) during construction of the vegetated roof assembly,
    3. expressly permitted by the roof system manufacturer as root-resistant, and
    4. listed in Division C of the Manual.

5.2.1.3. Edging

  1. Edging materials shall be
    1. proprietary or acceptable to the vegetated roof system manufacturer,
    2. designed for installation without penetrating roof waterproofing,
    3. free of any protrusions, sharp points, or sharp edges that would damage the roof membrane,
    4. stable or rigid and able to stand upright when assembled,
    5. gapped, perforated, or slotted, to permit the free flow of water through the barrier, and
    6. tall enough to contain the full depth of the vegetated roof system, and to permit the securement of vegetated roof system materials (See Note A-5.2.1.3.(1)(6)).
  2. Edging materials shall be resistant to deterioration, including corrosion; organic edging materials are not permissible.
  3. The use of mortar to secure edging materials in place is permissible only with a written Variance issued by the Guarantor and supported in writing by the vegetated roof system manufacturer (See Article 1.1.3.6.).

5.2.1.4. Separation Zone Fill

  1. Rounded gravel may be used to fill separation zones, provided
    1. gravel size ranges from 16mm to 32 mm and will not pass through edge curbing or ballast guards around roof drains and overflows, and
    2. fractured rock particles do not exceed 5% by volume.
  2. Pavers shall be directly supported by a drainage panel, rounded gravel, or by pedestals.
  3. Mulch made of combustible materials, including wood chips, straw, or sphagnum moss, are not permitted as separation zone fill.

5.2.1.5. Accessible Pathways

  1. Where separations zones function as pathways for maintenance access, the material must be resistant to displacement under load and shall be acceptable to the vegetated roof system manufacturer.

5.2.1.6. Additional Protection for Cultivated Assemblies

  1. Materials used to provide additional membrane protection shall be compatible with the supporting roof assembly membrane, listed in Division C of this Manual, acceptable to the vegetated roof system manufacturer, and capable of resisting penetration by a sharp-edge tools.

Section 5.3. Application

For application (installation) of materials covered in this Part, refer to Part 10, “Installation of Vegetated Roof Systems”, and specifically to Section 10.3.


Part 6 – Water Management

Section 6.1. Design

6.1.1 General

6.1.1.1. Scope

  1. The scope of this Part and the Standard shall be as described in Division A, Part 1.

6.1.1.2. Defined Terms

  1. Words that appear in italics are defined in the Glossary.

6.1.2. Guarantee Term Requirements

6.1.2.1. RoofStar Vegetated Roof Guarantee

  1. To qualify for a RoofStar Vegetated Roof Guarantee, all projects shall comply with the requirements in Article 1.1.2.1., the requirements in this Part, and the requirements of the Standard governing the supporting roof assembly.

6.1.2.2. Reserved

6.1.3. All Systems

6.1.3.1. General Requirements for Water Management

(See Note A-6.1.3.1.)

  1. General drainage of the vegetated roof system shall be designed together with the drainage of the supporting roof assembly.
  2. All vegetated roof systems shall be designed with
    1. adequate slope to control and drain water (See Subsection 2.1.3. for slope requirements), and
    2. overflow drains complying with the design, material, and installation requirements in Part 11 of the RGC Standard for the supporting roof assembly.
  3. All vegetated roof systems shall incorporate at least one drainage layer conforming to the material requirements of Article 6.2.1.2., located below the filtration layer, regardless of how the supporting roof assembly is designed (uninsulated, conventionally insulated, or protected).
  4. When the supporting roof assembly is designed as a protected membrane roof, only manufactured drainage products may be used; the use of aggregate for drainage in a protected membrane roof assembly is not permissible.
  5. A protected membrane roof assembly may be designed to omit a drainage course between the insulation and the roof membrane (see Part 7 of the Standard for the supporting roof assembly), but
    1. this is permissible only when roof penetrations or openings in walls provide at least 203.2 mm (8”) of clearance above the finished roof system surface, and
    2. when the bottom drainage layer is omitted, the design shall incorporate (when required by the vegetated roof system manufacturer) a vapour diffusion layer immediately above the insulation, below the drainage layer, to ensure the entire assembly is vapour-open (See Figure 6.1.3.1.).
  6. Water that is received by the vegetated and non-vegetated areas of a green roof, whether from precipitation or irrigation, shall freely drain into the plumbed drainage system of the building, or off the roof into gutters and connected leaders, to prevent damage to vegetation from prolonged saturation of the soil.
  7. The drainage design of the vegetated roof systems shall consider both direct and indirect pathways of drainage, including “underflow” (water that percolates to the base of the vegetated roof system and then flows horizontally through drainage layers toward roof drains, scupper drains, or gutters; Ref. ASTM E2777-20, 3.2.35).
  8. Blue-green roofs shall be designed to conform to the requirements in Sentences 1.1.3.2. (6) through (9).
  9. The use of flow control drains as a tool to manage rainwater retention or detention is permissible with written consent from the vegetated roof system manufacturer (See Sentence 1.1.3.2.(9)); however, the failure of any electrically or electronically operated flow control drain, no matter how it is caused, and any leak arising from such a failure, is not covered by this Guarantee.
  10. Drainage capacity of roof drains must be preserved with separation zones (See Article 5.1.3.2.).
  11. Every roof drain, including drains used in planters, must be protected with a ballast guard or a fully enclosed inspection chamber, to prevent blockage from debris or separation zone ballast (ballast guards achieve the minimum requirement but can be open at the top; fully covered inspection chambers are recommended) (See also the Standard for the supporting roof assembly, Articles 7.3.5.2., 11.1.3.1., 11.1.4.2., 11.2.1.2., 11.3.2.3., 11.3.2.4., and 14.3.2.4.).
  12. Drainage within a vegetated roof system must be designed together with the drainage design for the supporting roof assembly (Ref. Part 11 in the Standard for the supporting roof assembly) and must consider the expected volume of drainage between roof drains arising from both anticipated seasonal precipitation and severe weather events.
  13. Overflow drains are required for all roofs supporting a vegetated roof system and shall be manufactured, located in the roof perimeter, installed, and waterproofed to comply with the requirements in Part 11 in the Standard of the supporting roof assembly.
  14. Where the vegetated roof system is designed as an intensive vegetated roof system, an internal drainage network of perforated piping
    1. should be considered to direct large volumes of water toward roof drains, and
    2. must be appropriately sized for anticipated rainfalls.
  15. All drainage piping and mats designed for use within the vegetated roof system must, at the very least, be covered with a filtration layer and sufficiently covered with soil or temporary protection materials to distribute any compression loads during the installation process, including loads from heavy equipment.
  16. Where strip or trench drains are specified, they must be manufactured with removable inspection grates.


Figure 6.1.3.1.
Layering of a Vegetated Roof Assembly (typical)
Illustrating Vapour Diffusion Membrane

Forming Part of Article 6.1.3.1.
(Click to expand)
VRA Standard, Figure 6.1.3.1.png

6.1.3.2. Planter Drainage

  1. Planter drainage shall conform to the general requirements of Article 6.1.3.1., where it is applicable.
  2. Structural planters designed to support semi-intensive or intensive vegetated roof systems shall be drained either with
    1. a dedicated mechanical drainage system, or
    2. knock-outs in the pre-curb.
  3. Non-structural planters must not impede the flow of water to roof drains and therefore must be situated on top of a drainage course.
  4. All mechanical drains in planters must be designed for inspection and servicing.
  5. The use of bi-level planter drains is permissible provided the perforated riser is proprietary to the drain manufacturer, and where a perforated riser is employed it should be surrounded by aggregate conforming to the requirements in Article 5.2.1.4.; the use of a “filter sock” or drain sleeve fitted around the perforated riser to prevent fine particle infiltration of the drainage system, in place of aggregate, is permissible but not recommended.
  6. Overflow drains through a planter wall are required when expanded or extruded foam plastic insulation is employed as void fill inside a planter, or when the depth of vegetated roof system (exclusive of any type of void fill) exceeds 40 cm (16”) (See Note A-6.1.3.1.).

6.1.3.3. Required Use of Filtration and Vapour Diffusion Layer

  1. A filtration layer is required for every vegetated roof system.
  2. The filtration layer is typically situated on top of the drainage course or as an integral part of drainage matting, but the location of the filtration layer is nevertheless the responsibility of the vegetated roof system manufacturer (for extensive systems) or green roof design professional (for semi-intensive and intensive systems).
  3. Where amenity spaces or walkways are incorporated into the roof area covered by a vegetated roof system and a drainage course above the insulation is omitted from the design, a vapour-permeable diffusion membrane must be specified for installation immediately above the supporting roof assembly to avoid vapour-closed conditions (See Article 10.3.2.6.).

6.1.3.4. Water Detention

  1. Water shall be detained (temporarily stored) in the growing media and, where specified, in purpose-made manufactured materials.
  2. The specification of a manufactured water retention layer, to meet the hydrological requirements of the building site and the specific needs of vegetation, is the responsibility of the vegetated roof system manufacturer (for extensive systems) or green roof design professional (for semi-intensive and intensive systems).

Section 6.2. Materials

6.2.1. Material Properties

6.2.1.1. Standards

  1. Materials in this Part shall be tested and validated using the test methods and specifications referenced by ASTM E2777-20, or as otherwise listed in Article 1.1.1.3. and noted below.

6.2.1.2. Drainage Layers

(See Note A-6.2.1.2.)

  1. A drainage layer (course) must be
    1. manufactured to convey water toward the roof drains, scupper drains, or gutters,
    2. part of a vegetated roof system warrantied by the vegetated roof system manufacturer,
    3. capable of resisting anticipated compressive loads, and
    4. compatible with the hardscaping assemblies around the vegetated roof system.
  2. Specialized proprietary drainage products must be acceptable to the vegetated roof system manufacturer.
  3. Geocomposite drainage layers may be manufactured with an integrated water-permeable geosynthetic fabric, which must weigh no less than 285 grams/m2 (0.75 lb/yd2).
  4. The properties of drainage layer materials shall conform to the test methods and specifications referenced by ASTM E2777-20 and listed in Article 1.1.1.3., and shall also be tested for the following properties, which shall be published in the vegetated roof system manufacturer’s supporting technical literature:
    1. Apparent opening size: ASTM D4751, “Test Method for Determining Apparent Opening Size of a Geotextile”.
    2. Water flow rate: ASTM D4491/D4491M, “Test Method for Water Permeability of Geotextiles by Permittivity”; and ASTM D4716/D4716M – 20, “Standard Test Method for Determining the (In-plane) Flow Rate per Unite Width and Hydraulic Transmissivity of a Geosynthetic Using a Constant Head”.
    3. Static Puncture resistance: ASTM D6241 – 14, “Standard Test Method for Static Puncture Strength of Geotextiles and Geotextile-related Products using a 50-mm Probe”.
  5. Where a mineral aggregate is used as the drainage medium, the aggregate shall conform to the requirements for separation zone fill in Article 5.2.1.4.

6.2.1.3. Filtration Layers

  1. Filtration layers shall conform to the test methods and specifications referenced by ASTM E2777-20 and listed in Article 1.1.1.3., and shall achieve the minimum values below, based on individual testing:
    1. The material shall achieve a test result greater than 1500 kPa, tested according to ASTM D3786/D3786M, “Test Method for Bursting Strength of Textile Fabrics—Diaphragm Bursting Strength Tester Method”).
    2. The apparent opening size shall be determined by the smallest particle size in the specified growing media and therefore must resist clogging while simultaneously permitting the free flow of water into the drainage course (Ref. ASTM D4751, “Test Method for Determining Apparent Opening Size of a Geotextile”; See also ASTM D1987-22, “Test Method for Biological Clogging of Geotextile or Soil/Geotextile Filters” and ASTM D4439, “Standard Terminology for Geosynthetics”.
    3. The permittivity through the textile shall be at a rate of at least 1.5 s-1 but no more than 2.5 s-1 when tested using ASTM D4491/D4491M, “Test Method for Water Permeability of Geotextiles by Permittivity”.
  2. Filter fabric shall capably resist wear and tear during construction without deterioration of its strength and filtering properties.
  3. Filtration layers shall possess a minimum density of 100 g/m2 and minimum resistance to puncture equal to or greater than 0.5 kN, “provided no major mechanical stresses are anticipated during construction work or when vertical loads are subsequently applied” (Ref. FLL, 9.2.2).
  4. Filtration layers must be
    1. part of a vegetated roof system warrantied by the vegetated roof system manufacturer,
    2. suitable for the installed roof covering,
    3. resistant to decay (non-biodegradable),
    4. resistant to microorganisms,
    5. resistant to chemicals,
    6. penetrable by plant roots,
    7. non-toxic to vegetation, seeds, or bulbs,
    8. lightweight,
    9. selected for their ability to support dead loads, live loads, and point loads,
    10. strong enough to resist displacement of insulation boards under flotation conditions (See Note A-6.2.1.3.(1)(10)),
    11. at least 2489.2 mm (98") wide, and
    12. capable of permitting the passage of anticipated water flow rates.
  5. Only non-woven needle-punched filter fabrics should be used in combination with growing media with a clay content greater than 15% (by volume).

6.2.1.4. Vapour Diffusion Membranes

  1. Water vapour diffusion membranes shall be proprietary to the vegetated roof system manufacturer and shall resist the downward penetration of liquid water but permit water vapour to pass upward through the membrane at a rate of at least 2 perms (approximately equivalent to the European permeability requirements <2 Sd, or vapour diffusional resistance, measured in metres (m)).

6.2.1.5. Water Retention

  1. Water retention layers shall conform to the applicable test methods and specifications referenced by ASTM E2777-20 and listed in Article 1.1.1.3., and shall also be tested for the following properties, which shall be published in the vegetated roof system manufacturer’s supporting technical literature:
    1. Tensile strength and ultimate elongation: ASTM D4632/4632M – 15a, “Standard Test Method for Grab Breaking Load and Elongation of Geotextiles”.
    2. Weight: ASTM D5261, “Test Method for Measuring Mass per Unit Area of Geotextiles”.
    3. Static Puncture resistance: ASTM D6241 – 14, “Standard Test Method for Static Puncture Strength of Geotextiles and Geotextile-related Products using a 50-mm Probe”.
    4. Water retention:
      1. AATCC TM195, “Liquid Moisture Management Properties of Textile Fabrics”.
      2. ASTM D570-22, “Standard Test Method for Water Absorption of Plastics”.
      3. When a water retention layer is specified, or when the water retention layer is part of a multi-functional Geocomposite drainage layer, it must be covered by the warranty issued by the vegetated roof system manufacturer.

6.2.1.5. Capillary Water Management

  1. Capillary mats or other materials used for irrigation of vegetation shall be proprietary to, or accepted by, the vegetated roof system manufacturer.

Section 6.3. Application

For application (installation) of materials covered in this Part, refer to Part 10, “Installation of Vegetated Roof Systems”, and specifically to Section 10.3.


Part 7 - Growing Media (Vegetation Support)

Section 7.1. Design

7.1.1. General

7.1.1.1. Scope

  1. The scope of this Part and the Standard shall be as described in Division A, Part 1.

7.1.1.2. Defined Terms

  1. Words that appear in italics are defined in the Glossary. Additionally, the following terms are used in this Part:
    1. Growing media (soil) means a certified, engineered blend of organic and inorganic materials designed to provide a stable medium for roots, to permit the absorption of air, water, and nutrients by plants, and to function as a water detention material to absorb and gradually release rainwater.
    2. Topsoil means naturally occurring soil at the surface of the ground, above the subsoil layer.

7.1.2. Guarantee Term Requirements

7.1.2.1. RoofStar Vegetated Roof Guarantee

  1. To qualify for a RoofStar Vegetated Roof Guarantee, all projects shall comply with the requirements in Article 1.1.2.1., the requirements in this Part, and the requirements of the Standard governing the supporting roof assembly.
  2. In addition to Sentence (1), the certificate for the growing media blend
    1. must be submitted to the Guarantor as part of the Contractor's submittals (See Article 1.3.2.4. and Sentence 7.2.1.3.(3)) and
    2. shall be provided to the independent Observer for verification, to be documented in the Observer’s report.

7.1.2.2. Reserved

7.1.3. All Systems

7.1.3.1. General Requirements for Growing Media Blends

  1. Unless otherwise permitted by this Standard, the growing media blend shall be proprietary to the vegetated roof system manufacturer; the use of topsoil is expressly prohibited by this Standard.
  2. When the growing media is not proprietary to the vegetated roof system manufacturer (for example, in an intensive vegetated roof system), the media shall conform to the requirements in Article 7.2.1.1.
  3. All growing media blends must be designed in collaboration with the fire resistant design of the roof assembly; blends with an organic material content greater than 20% by volume may require a ULC Class A fire rating (See Article 2.1.4.3. Also see Article 1.1.1.9.).
  4. All growing media, regardless of how or by whom it is supplied, shall be sampled during construction by the Observer (See Article 1.1.2.4.).

7.1.4. Media Retention

(The requirements in Subsection 7.1.3., "All Systems", shall be read together with the following articles)

7.1.4.1. Protection from Loads

  1. When the designed slope of a vegetated roof system exceeds 1:6 (Ref. Article 2.1.3.2.), the VRS must be designed with retention cables, trays, nets, or another type of suitable device, to ensure the any materials, including vegetation, are not displaced by gravity, wind, vibration, or any other external force.

7.1.4.2. Erosion Protection

  1. Growing media must be protected from erosion, both during and after construction of the vegetated roof system, using means and methods that are specified by the green roof design professional and acceptable to the vegetated roof system manufacturer.

7.1.5. Media Depth

(The requirements in Subsection 7.1.3., "All Systems", shall be read together with the following articles)

7.1.5.1. Growing Media Depth Requirements for All Assemblies

  1. Growing media depth shall be determined by the hydrologic requirements for the project, but it shall nevertheless be sufficient for plant establishment and plant vigor and shall be no less than 152.4 mm (6”) (See Table 7.1.5.1.), unless it can be demonstrated to the satisfaction of the Guarantor that a lesser depth will
    1. capably satisfy the minimum local hydrological requirements,
    2. support the natural upright habit of plants, and
    3. sustain their survival.
    Table 7.1.5.1.
    Growing Media Depth by System Type (Min. to Recommended Maximum)
    Forming Part of Sentence 7.1.5.1.(6).
    Vegetation Support Depth (cm) 15 18 20 25 30 35 40 45 50 60 70 80 90 100 125 150 200
    Extensive VRS
    Moss-Sedum Established by Vegetated Roof System Manufacturer
    Sedum-Moss-Herbaceous
    Sedum-Herbaceous-Grass
    Grass-Herbaceous
    Semi-Intensive VRS
    Grass-Herbaceous
    Wild-Perennial_Shrub
    Woody-Shrub-Perennial
    Woody
    Intensive VRS
    Turf
    Low Perennial-Wood Plants
    Med. Perennials-Woody Plants
    High Perennials-Woody Plants
    Big Shrubs-Small Trees
    Medium & Tall Trees
    Tall Trees
  2. Growing media volume shall be calculated with an allowance for compaction once installed.
  3. The minimum depth of growing media for extensive vegetated roof systems shall set by the vegetated roof system manufacturer.
  4. Where the depth of growing media is not specified by the vegetated roof system manufacturer it shall be specified by the green roof design professional.
  5. Growing media depth for built-in-place vegetated roof systems shall conform to the ranges shown in Table 7.1.5.1. and shall be designed to suit the regional and specific location climatic conditions.
  6. When the overall depth of growing media in an intensive vegetated roof system exceeds 350 mm (14” nom.), sagging, water-logging, or putrefaction (“rot”) should be avoided by
    1. reducing the organic content of the media, or
    2. stratifying the growing media by
      1. limiting the depth of the higher organic content media to 350 mm, and
      2. adding a mineral growing media base which should be designed to contain little or no organic content and should possess a low water retention capacity (Ref. FLL, 12.1 “Material groups and types” and see Note A-7.1.5.1.).


    Figure 7.1.5.1.
    Growing Media Stratification
    Forming Part of Sentence 7.1.5.1.(6).
    (Click to expand)
    VRA Standard, Figure 7.1.5.1.png
  7. When a mineral growing media base is specified, it shall have a depth of no less than 101.6 mm (4”) and shall be
    1. specified by the vegetated roof system manufacturer or the green roof design professional, and
    2. constructed above the filtration and drainage layers) to promote adequate aeration and drainage (See Figure 7.1.5.1.).

Section 7.2. Materials

7.2.1. Material Properties

7.2.1.1. General Requirements for Growing Media

(See Note A-7.2.1.1.; see also Article 7.2.1.2.)

  1. Growing media shall be blended to support the vegetation.
  2. Growing media blends used in an extensive vegetated roof system must be specified and warrantied by the vegetated roof system manufacturer.
  3. Growing media blends that are specified and supplied by the vegetated roof system manufacturer for use in an intensive and semi-intensive vegetated roof system shall be used and may not be substituted with growing media specified by others.
  4. Growing media should
    1. minimally contribute to the dead load of the vegetated roof system,
    2. retain nutrients and moisture,
    3. preserve a high void value (air volume) even when nearly saturated,
    4. be sufficiently porous for internal aeration,
    5. prevent rotational movement, shrinkage, and compaction,
    6. resist heat and decay,
    7. anchor plants,
    8. be readily drainable,
    9. be free of materials that degrade, clog, or corrode the filtration or drainage materials, and
    10. pose no risk to the roof waterproofing membrane.
  5. Growing media shall be clean and shall not contain
    1. vermiculite or plastic foam,
    2. weed seeds,
    3. vegetation matter including plant roots, rhizomes, invasive or noxious plants or their reproductive parts,
    4. wood, or woody materials,
    5. insects and larvae,
    6. plant pathogenic organisms,
    7. chemical pollutants and substances at levels that are toxic to plants, and
    8. any other materials that “detract from the desirable physical and chemical properties” of the media.
  6. Regardless of what or how it is specified growing media shall be
    1. engineered to resist plugging or caking at the filtration layer and therefore must have a low content of silts and clays (for silt and clay content, refer to Tables 5 and 6 in Section 12 of the Landscape Development and Landscaping Research Society e.V. (FLL), and to tables D and E in Section 5 of the "Canadian Landscape Standard"), and
    2. comprised of organic and inorganic materials conforming to the ranges shown in Table 7.2.1.2.
  7. Growing media for planters shall be the same as the growing media used in the primary vegetated roof system; “Triple mix” (a combination of peat moss, compost, and native top soil), compost, or organic materials are not acceptable to the Guarantor.

7.2.1.2. Growing Media Specified by Others

  1. When the growing media is not supplied by the vegetated roof system manufacturer, or when the vegetated roof system manufacturer does not provide or specify a proprietary growing media blend, the media blend shall
    1. conform to the general requirements in Article 7.2.1.1.,
    2. be specified by a green roof design professional (See Note A-1.1.1.7.(2)).
    3. conform to the more stringent requirements of the Landscape Development and Landscaping Research Society e.V. (FLL) (Section 12, “Vegetation Stratum”) or the "Canadian Landscape Standard" for green roof media (Sub-section 5.5., “Over Structure and Green Roof Growing Media”),
    4. be tailored to the regional environment for the vegetated roof system,
    5. be comprised of organic and inorganic materials conforming to the ranges shown in Table 7.1.5.1., and
    6. be acceptable to the vegetated roof system manufacturer.
  2. Expanded shale, clay, or slate use as a mineral component in the growing media mix shall conform to ASTM E2788–19, “Standard Specification for Use of Expanded Shale, Clay and Slate (ESCS) as a Mineral Component in the Growing media and the Drainage Layer for Vegetative (Green) Roof Systems”.
  3. Particle size of the growing media shall conform to the percentages by mass shown in Figure 8 of the Landscape Development and Landscaping Research Society e.V. (FLL) Standard (2018 Edition).
  4. Growing media that is reused in the renovation of a vegetated roof system
    1. must conform to the requirements in this Part,
    2. shall be free of contamination,
    3. shall be tested to document its composition and verify its condition (See Article 7.2.1.2.), and
    4. shall be expressly warrantied by the vegetated roof system manufacturer (See Article 1.1.3.2. for other conditions applicable to the renovation of an existing vegetated roof system).


Table 7.2.1.2.
Growing Media (Soil) Content by Volume*
Forming Part of Article 7.2.1.2.
(Click to expand)
VRA Standard Table 7.2.1.2..png
*Adapted from the “Green Roof Design and Installation Resource Manual”, Vol. II, Table 5.6.1 (GRHC); for cross-reference
purposes, also see the Canadian Landscape Standard, Section 5.

7.2.1.3. Growing Media Blending and Validation Testing

  1. Every batch of growing media produced in bulk for loose installation shall be mixed by machine and shall be homogenous (hand mixing is not permitted).
  2. All vehicles, equipment, and machinery involved in the mixing, transportation, or application of the growing media shall be cleaned before blending or conveying the growing media.
  3. The growing media shall be sampled and tested by a third party (not the blender) and must be certified as to its origin and specifications (See Article 1.3.2.4., “Contractor Submittals”).

7.2.1.4. Erosion Protection Materials

  1. Erosion protection blankets/mats and other erosion control devices shall be warrantied by, or acceptable to, the vegetated roof system manufacturer.

Section 7.3. Application

For application (installation) of materials covered in this Part, refer to Part 10, “Installation of Vegetated Roof Systems”, and specifically to Section 10.3.


Part 8 – Irrigation

Section 8.1. Design

8.1.1. General

8.1.1.1. Scope

  1. The scope of this Part and the Standard shall be as described in Division A, Part 1.

8.1.1.2. Defined Terms

  1. Words that appear in italics are defined in the Glossary.

8.1.2. Guarantee Term Requirements

8.1.2.1. RoofStar Vegetated Roof Guarantee

  1. To qualify for a RoofStar Vegetated Roof Guarantee, all projects shall comply with the requirements in Article 1.1.2.1., the requirements in this Part, and the requirements of the Standard governing the supporting roof assembly.

8.1.2.2. Reserved

8.1.3. All Systems

8.1.3.1. Required Irrigation

  1. Unless otherwise stated in this Part, irrigation means both the active distribution of water to the vegetated roof system, through drip technology or spray nozzles, and passive irrigation through capillary mats or plugs.
  2. Subject to other requirements in this Part, every roof area on which a vegetated roof system is specified shall provide frost-protected water supply to locations on the roof specified by the Design Authority, with sufficient pressure and volume to ensure
    1. successful construction of the vegetated roof system (See Clause 10.3.2.1.(2)(4)), and
    2. year-round maintenance (See Article 11.1.3.2.).
  3. When establishment irrigation is required by either the vegetated roof system manufacturer or the green roof design professional but permanently installed irrigation is not specified, the design shall specify temporary irrigation (i.e., moveable) (See Article 1.1.1.9. and Article 1.1.3.3.).
  4. When a permanent irrigation system is proprietary to the vegetated roof system manufacturer, it shall be installed to conform to the vegetated roof system manufacturer’s published requirements for irrigation zone limitations.
  5. Where the vegetated roof system design requires regular irrigation,
    1. irrigation shall be permanently installed in the vegetated roof system, and
    2. the building shall incorporate a sufficient number and arrangement of frost-protected water supply connections on the roof, to adequately service all areas covered by a vegetated roof system.

8.1.3.2. General Requirements for Irrigation

(See Note A-8.1.3.2.)

  1. All irrigation for a vegetated roof system shall be designed
    1. to meet the needs and capabilities of the vegetation,
    2. for the building site’s climate conditions,
    3. with consideration for foliage density, soil composition, and expected evapotranspiration rates using local climatic data (Ref. ASTM E2777-20, 3.2.8.1), and
    4. to support the intended purpose of the green roof.
  2. Irrigation systems shall be self-supporting and designed without penetration of the roof assembly.
  3. Automated irrigation systems equipped with rain and humidity sensors are recommended for effective water management.
  4. Irrigation systems shall be supplied to the owner with maintenance requirements.
  5. The use of harvested or recycled water for irrigation is permissible, provided the water is free of solids and toxins and will not harm the vitality of the vegetation.
  6. Where harvested or recycled water is incorporated into the design of the green roof, a separation of the roof irrigation system and a ground-level irrigation system is recommended, including separate timers and meters.

Section 8.2. Materials

8.2.1. Material Properties

8.2.1.1. Irrigation Systems

  1. All materials specified and used for irrigation of a vegetated roof system shall be
    1. suitable for the purpose,
    2. chemically compatible with, and non-toxic to, all green roof system materials to which they will come in contact, and
    3. shall be corrosion-resistant.
  2. Where any component or assembly of an irrigation system is chemically incompatible with either the vegetated roof system or the supporting roof assembly, the component or assembly must be physically separated with a suitable material that is secured to prevent displacement.

8.2.1.2. Capillary Water Management

  1. Capillary mats or other materials used for the passive irrigation of vegetation shall be proprietary to, or accepted by, the vegetated roof system manufacturer.

Section 8.3. Application

For application (installation) of materials covered in this Part, refer to Part 10, “Installation of Vegetated Roof Systems”, and specifically to Section 10.3.


Part 9 – Seeds, Plants, and Vegetation

Section 9.1. Design

9.1.1. General

9.1.1.1. Scope

  1. The scope of this Part and the Standard shall be as described in Division A, Part 1.

9.1.1.2. Defined Terms

  1. Words that appear in italics are defined in the Glossary.

9.1.2. Guarantee Term Requirements

9.1.2.1. RoofStar Vegetated Roof Guarantee

  1. To qualify for a RoofStar Vegetated Roof Guarantee, all projects shall comply with the requirements in Article 1.1.2.1., the requirements in this Part, and the requirements of the Standard governing the supporting roof assembly.

9.1.2.2. Reserved

9.1.3. All Systems

9.1.3.1. Suitability of Vegetation

  1. Plants must be suitable for, and selected for adaptability to, the harshest conditions to which they will be exposed.
  2. All vegetation, even when supplied by the vegetated roof system manufacturer, should be selected by a green roof design professional; the additional advice of a horticulturist is strongly recommended.
  3. The designed selection of plants for the vegetated roof system shall be
    1. suitable for the hydrological requirements published by the applicable Code or bylaws (Ref. Article 1.1.4.2.),
    2. suitable for the climate in which it is specified,
    3. appropriate for the building exposure, with respect to light, shade, wind, and reflected light,
    4. resistant to regional and local pests and disease,
    5. selected with consideration for the specified depth of growing media,
    6. selected for shallow, non-aggressive rooting habits,
    7. acceptable to the Province of British Columbia and to the Authority Having Jurisdiction (plants shall not be listed prohibited), and
    8. suitable for the health and well-being of building occupants.
  4. Where possible, the selection of plants should
    1. aim to balance seasonal hydrological performance requirements with plant diversity,
    2. incorporate species that are indigenous to the building’s local geography, and
    3. incorporate a high percentage of plants that tolerate dry conditions and require little maintenance.

Section 9.2. Materials

9.2.1. Material Properties

9.2.1.1. Supply of Seeds and Vegetation

  1. Vegetation for extensive vegetated roof systems, howsoever it is grown (trays, mats, or in other forms), shall be supplied by the vegetated roof system manufacturer.
  2. Seeds, cuttings, plugs, or potted live plants shall be provided by suppliers selected by the green roof design professional (See Article 1.1.1.7.) and may be approved by the vegetated roof system manufacturer, subject to the conditions of warranty.

Section 9.3. Application

For application (installation) of materials covered in this Part, refer to Part 10, “Installation of Vegetated Roof Systems”, and specifically to Section 10.3.


Part 10 - Installation of Vegetated Roof Systems

Section 10.1. Design

10.1.1. General

10.1.1.1. Scope

  1. The scope of this Part and the Standard shall be as described in Division A, Part 1.

10.1.1.2. Defined Terms

  1. Words that appear in italics are defined in the Glossary.

10.1.2. Guarantee Term Requirements

10.1.2.1. RoofStar Vegetated Roof Guarantee

  1. To qualify for a RoofStar Vegetated Roof Guarantee, all projects shall comply with the requirements in Article 1.1.2.1., the requirements in this Part, and the requirements of the Standard governing the supporting roof assembly.

10.1.2.2. Reserved

10.1.3. All Systems

10.1.3.1. General Requirements for Installation and Vegetation Protection

  1. Specifying means and methods for installation of the vegetated roof system, and for the protection for newly installed vegetation, is the responsibility of the Design Authority.

10.1.3.2. Sequencing of Operations

  1. The supporting roof assembly must be completed and, when required in the Standard for the supporting roof assembly, the membrane shall be tested for watertightness before the installation of a vegetated roof system is permissible.
  2. Construction of the vegetated roof system shall be scheduled to accommodate optimal planting or seeding conditions (See Article 1.1.1.8.).
  3. Specifications for installation shall conform to the application requirements in Sub-section 10.3.2.
  4. Specifications and drawings should articulate the sequencing of work for all building elements so that work is performed with minimal disruption to, or damage of, the vegetated roof assembly by other trades.

10.1.4. Planters

10.1.4.1. General Requirements for Planters

(See Article 10.3.3.1. for installation requirements)

  1. Planters shall be designed as either structural or non-structural elements on the roof, but where the planter is non-structural it shall conform to the requirements in Article 1.1.3.2..
  2. Structural planters may be cast-in-place directly on the roof deck or built on cast-in-place pre-curbs (“starter curbs”) as articulated in Part 14 of the Standard for the supporting roof assembly.
  3. Roofing membrane applied to any portion of the interior face of structural planters shall be protected with
    1. a root barrier and
    2. vertically installed drainage mat.
  4. Root barrier and drainage mat materials shall be specified to extend vertically from the planter bottom to the finished surface of the growing media (See Note A-10.1.4.1. (3)).
  5. Non-structural concrete planter walls shall be lined on the inside with a vapour diffusion membrane to separate planter walls from growing media (See Article 6.2.1.4.).
  6. Separation zones are not required inside planters (See Article 5.1.3.3.), but when the vegetated roof system depth inside a structural planter (exclusive of void fill) exceeds 40 cm (16”), or when the system is designed as either semi-intensive or intensive, an additional layer of membrane protection between the waterproofing membrane and the drainage mat shall be specified and shown on the design drawings (See also Article 5.2.1.1. for material requirements).
  7. Planter drainage shall conform to the requirements in Article 6.1.3.1.

Section 10.2. Materials

10.2.1. Material Properties

10.2.1.1. Void Fill Materials

  1. Materials used as “voiding” to reduce the dead load of an intensive green roof system must be
    1. specified or permitted by the green roof design professional,
    2. capable of resisting all anticipated compressive loads (including loads during construction) without settling or deforming,
    3. resistant to deterioration and decomposition,
    4. free of sharp edges or corners,
    5. able to support anticipated loads (including loads during construction) without settling or deforming,
    6. capable of supporting the smallest particle size of the growing media, and
    7. water-resistant and shall absorb no more than 4 per cent water by volume (Ref. ASTM D2842-19, “Standard Test Method for Water Absorption of Rigid Cellular Plastics”).
  2. The saturated weight of void fill materials must be accounted for by the registered professional responsible for structural design of the building.
  3. Where aggregate is used for void fill, the vegetated roof system manufacturer’s guidelines or installation requirements must be consulted.

Section 10.3. Application

10.3.1. Guarantee Term Requirements

10.3.1.1. RoofStar Vegetated Roof Guarantee

  1. To qualify for a RoofStar Vegetated Roof Guarantee, all projects shall comply with the requirements in Article 1.1.2.1., the requirements in this Part, and the requirements of the Standard governing the supporting roof assembly.

10.3.1.2. Reserved

10.3.2. All Systems

10.3.2.1. Coordination of Work

(See Article 1.3.2.1., Article 10.1.3.2., and Note A-10.3.2.1.)

  1. The qualified green roof project manager shall
    1. coordinate installation of the vegetated roof system with the general contractor and any other trades working around or on the same roof areas,
    2. coordinate the sequencing of work with other trades, to minimize disruptions to or the dismantling of the green roof after installation (See Article 10.1.3.2. and Article 1.1.1.8.),
    3. ensure that no materials are stored on top of the vegetated layer after installation,
    4. ensure that water is properly supplied to the roof by others, in sufficient volume and pressure, at locations that will permit the construction of the vegetated roof assembly (see Article 8.1.3.1.; also see Note A-10.3.2.1. for comments concerning Guarantee coverage when water is not available),
    5. coordinate work with the qualified green roof installer,
    6. ensure the proper installation of the first drainage course, insulation, and filtration material in any protected membrane roof assembly, which may be undertaken by the qualified green roof installer provided the work is directly supervised by a journeyperson-certified established employee of the Contractor and is executed in keeping with the requirements in Part 7 of the Standard for the supporting roof assembly, and
    7. ensure on behalf of the Contractor that the entire roofing/green roofing project satisfies the requirements and intent of the project specifications, of this Standard, and of the Standard for the supporting roof assembly.
  2. Construction of the vegetated roof system shall be scheduled to accommodate optimal planting or seeding conditions (See Article 1.3.2.3.).
  3. Delivery of growing media shall be coordinated to coincide with installation schedule of the vegetated roof system.
  4. When growing media must be staged on site and cannot be installed at or near the time of delivery, it must be protected from contamination, from the weather, and from damage.
  5. When construction of the vegetated roof system cannot commence immediately after commissioning of the supporting roof assembly, the Contractor shall take all necessary measures to protect the waterproofing from damage, howsoever caused.
  6. Delivery of vegetation shall be coordinated to coincide a close as possible to the planned time of planting.
  7. When planting is delayed, the qualified green roof project manager for the Contractor shall coordinate with the qualified green roof installer to protect and ensure the vitality of the vegetation.
  8. The qualified green roof installer is responsible for routine watering of all staged plants and shall keep a maintenance log to demonstrate compliance with this requirement (See Article 1.3.2.4., "Contractor Submittals", and Article 10.3.2.15., "Planting Potted Non-woody Plants").

10.3.2.2. Protection of Installed Materials

  1. Where the vegetated roof system is installed by someone other than the Contractor, the installer must make every effort to protect the supporting roof assembly from damage during installation.
  2. Unballasted insulation must be secured against displacement by wind at all times.
  3. The qualified green roof installer shall ensure the protection of all drainage materials and systems below or embedded in the vegetated roof system and shall replace any broken or ruptured materials before vegetation is installed (See Note A-10.3.2.2.).

10.3.2.3. General Requirements for the Installation of Vegetated Roof System Materials

  1. Loading vegetated roof system materials shall conform to the structural load limitations of the building and conform to the design for point loading and storage.
  2. The vegetated roof system must be installed in the order of operation specified by the vegetated roof system manufacturer.
  3. Each material component in a vegetated roof system shall be installed in keeping with the requirements in this Standard, or as specified by the vegetated roof system manufacturer, whichever is the more stringent.
  4. Notwithstanding the other requirements in this Article, vegetation must be planted as soon as practicable to avoid soil erosion and weed colonization.
  5. The vegetated roof system must be irrigated after planting, in keeping with the vegetated roof system manufacturer’s published requirements, or as specified by the green roof design professional.

10.3.2.4. Installation of Membrane Protection

  1. When a dedicated membrane protection layer is specified, it shall be installed according to the published directions of the vegetated roof system manufacturer.
  2. Protective materials must be installed so that any bulk materials cannot fall or penetrate behind them, into underlying plies or layers.

10.3.2.5. Installation of Root Barrier

  1. The root barrier must be
    1. installed directly over the roof membrane, or as otherwise specified by the vegetated roof system manufacturer,
    2. secured in place to prevent displacement by wind,
    3. kept clean where overlapping layers will be seamed,
    4. protected from damage prior to installation,
    5. protected from damage, both during and after installation,
    6. installed in overlapping courses, in a continuous plane above the roof membrane,
    7. seamed in keeping with Sentences (2) and (3) of this Article,
    8. carried vertically up all intersecting elements or changes in plane (i.e., curbs, control joints, parapets, walls) at least 203.2 mm (8”) above the finished surface of the growing media,
    9. folded down at all vertical transitions to obtain double thickness at 90-degree transitions when required by the vegetated roof system manufacturer, and
    10. secured in place on vertical or steeply sloped surfaces (i.e., with linear metal base wall flashings), to prevent slumping.
  2. Adjacent courses of root barrier material may be loosely overlapped, but the amount of overlap shall conform to the vegetated roof system manufacturer’s requirements or the overlap specified by the vegetated roof system manufacturer (whichever is greater), and loose overlapping is permitted only for extensive vegetated roof systems.
  3. Adjacent courses of root barrier material used below a semi-intensive or intensive vegetated roof system shall be sealed at all overlaps, using methods acceptable to the vegetated roof system manufacturer.
  4. Notwithstanding the minimum height requirements for the application of the roof barrier on vertical planes, the root barrier may be terminated flush with the finished surface of the growing media for low openings, provided the low opening conforms to the requirements in Part 10 of the Standard for the supporting roof assembly, and the root barrier is restrained against slumping with a flashing method acceptable to Guarantor.
  5. The root barrier shall be
    1. installed over a clean, debris-free surface,
    2. trimmed to fit tightly around the base of penetration flashings, and
    3. trimmed to fit closely around roof drain strainers.
  6. When a root barrier (other than a root-resistant roof membrane) cannot be covered immediately after installation, it must be temporarily secured without penetrating the supporting roof assembly and shall not be left exposed to sunlight any longer than permitted by the root barrier manufacturer.
  7. Root barriers installed over a conventionally insulated roof assembly shall be protected from damage with a protection layer installed below the drainage layer; the protection material shall be specified by the vegetated roof system manufacturer and acceptable to the roof system manufacturer (See Article 5.2.1.1.).

10.3.2.6. Installation of Drainage Courses and Water Retention Layers

  1. A drainage mat must be continuous and shall be installed above the root barrier, as specified by the vegetated roof system manufacturer.
  2. Only the quantity of drainage mat material that will be installed in a day shall be unpackaged.
  3. Drainage mats shall be installed at perimeter vertical planes
    1. when specifically instructed by the vegetated roof system manufacturer,
    2. when the vegetated roof system is deeper than 30 cm (12”), and
    3. inside planters (See Article 10.1.4.1.).
  4. All drainage mat courses must be loosely installed edge to edge, not overlapped.
  5. Drainage mat materials must be trimmed to fit tightly against or around all penetrations, curbs, walls, parapets, other changes in plane, or irrigation risers.
  6. When the supporting roof assembly is protected (inverted), the drainage layer installed below the insulation may be omitted, provided
    1. a vapour diffusion layer is installed immediately above the insulation, and
    2. a drainage layer is installed directly above the vapour diffusion membrane (See Article 6.1.3.1.).
  7. When the supporting roof assembly is conventionally insulated, a drainage layer must be installed as part of the vegetated roof system.
  8. A fabric diffusion layer, or a second drainage layer, must be installed above the insulation in a protected membrane system, to promote vapour diffusion.
  9. Any drainage mats that are not immediately covered with growing media must be ballasted.
  10. Water retention materials must be installed above drainage mats and must conform to the installation requirements of the vegetated roof system manufacturer.

10.3.2.7. Installation of Void Fill and Filtration Layers

  1. Void fill materials (“voiding”) shall be arranged and installed so that water flows unimpeded through or along the other constituent layers of the vegetated roof system.
  2. A vapour diffusion membrane should be installed over void fill, but this is at the discretion of the vegetated roof system manufacturer or the Design Authority.
  3. Fabric filter rolls must be
    1. installed loose-laid (un-bonded) over the insulation and below any type of ballast or roof covering,
    2. overlapped at all longitudinal and transverse edges at least 304.8 mm (12"),
    3. sealed at all joints between courses of material using the vegetated roof system manufacturer’s proprietary or warrantied materials,
    4. tightly fitted around roof penetrations, roof drains, and other openings,
    5. secured around penetration flashings,
    6. carried up all vertical transitions (including penetration flashings) at least 304.8 mm (12”) above the finished surface of the growing media, and
    7. loosely held in place at all perimeter edges and curbs, behind metal counter flashings or wall finishes.
  4. Void fill, filtration layers, and vapour permeable membranes shall not be installed until they can be covered with growing media.

10.3.2.8. Separation Zones and Protection of Roof Drains

  1. Separation zone fill must be laid directly on a filtration layer, above a continuous drainage layer or directly over drainable materials acceptable to the vegetated roof system manufacturer.
  2. Edging ( Article 5.2.1.3.) shall be installed around all perimeters of the growing media, either above or below the drainage mat (the location shall be specified by the vegetated roof system manufacturer or, in the absence of such direction, by the green roof design professional), to delineate required vegetation-free separation zones and must be cut and fastened together to form a continuous, rigid retaining border for growing media.
  3. Roof drains must be protected from roots and vegetation with a separation zone and a ballast guard or an enclosed inspection chamber (See Article 5.1.3.3. and Article 6.1.3.1.).
  4. Overflow drains must be unobstructed by any edging or substructure layers and must be visible for ease of inspection and maintenance.

10.3.2.9. Installation and Commissioning of Irrigation Systems

  1. Commissioning of the irrigation system is the responsibility of the qualified green roof installer and shall be undertaken by someone qualified in the work concerned (for requirements of water supply to the roof, see Article 8.1.3.1.).

10.3.2.10. Installation of Growing Media

(This article pertains to the delivery and installation of bulk growing media and is not concerned with vegetated roof systems that utilize modular methods, such as pre-grown trays.)

  1. Prior to delivery, the growing media shall be sampled and a sample delivered to site, together with a certificate of quality, for review by the qualified green roof installer and the Observer.
  2. If site blending is permitted by the vegetated roof system manufacturer, the requirements in Article 7.2.1.1. shall apply.
  3. Growing media
    1. shall be protected from contamination prior to delivery, and while stored on site, and
    2. shall not be handled or placed on the roof when it is either excessively wet or is frozen.
  4. Growing media that is not immediately placed on the roof upon delivery shall be stored on site in a designated and prepared location, shall be covered within a reasonable time, and shall be kept dry, clean, and free of debris or wind-driven seeds.
  5. When stored growing media has not been covered and protected as required above, the qualified green roof installer shall retest and remix the media if required by the vegetated roof system manufacturer or, for semi-intensive and intensive systems, if required by the green roof design professional.
  6. The method of loading growing media on the roof shall be specified by the green roof design professional or, in the absence of any specified method, loading methods and sequencing shall be managed by the qualified green roof installer.
  7. When growing media is staged on the roof, staging must be in accordance with the load capabilities of the roof structure.
  8. All work to place the growing media shall be undertaken with equipment and methods that do not adversely affect the roof structure or the arrangement of other vegetated roof system components.
  9. Where the vegetated roof system incorporates vulnerable systems such as drainage piping and irrigation networks, those vulnerabilities shall be protected from damage during installation of the growing media (this is especially critical where motorized equipment is used to move soil around the roof).
  10. Bulk growing media shall be
    1. placed and distributed over the underlying vegetated roof system materials as soon as practicable after they have been installed,
    2. evenly distributed unless varied depth is mandated by the design,
    3. raked to control thickness, and
    4. irrigated and compacted throughout the installation process to prevent wind erosion.
  11. Placed growing media
    1. should be at or near optimum compaction moisture content as determined by ASTM D 698, and
    2. shall be allowed to settle or shall be compacted by lightly rolling it; adequate compaction shall be evidenced by shallow footprints.
  12. When planting is delayed, installed growing media must be protected from erosion using means and methods specified by the Design Authority (See Article 7.1.4.2. and Article 10.1.3.1.).
  13. When anti-shear devices are used to retain growing media, the application of the media shall follow the requirements of the vegetated roof system manufacturer or, for semi-intensive and intensive systems, the requirements of the green roof design professional.

10.3.2.11. General Requirements for Planting

  1. The growing media must have a suitable moisture content before planting; irrigation to complete saturation is recommended.
  2. All sown seeds or broadcast cuttings, all planted plugs and plants, and all installed trays, mats, or other modular-supplied vegetation, shall be irrigated once they have been planted.

10.3.2.12. Installation of Modular Vegetated Systems

  1. Trays, mats, and other modular forms of vegetated roofing shall be securely joined or fitted together in keeping with the supplier’s requirements.

10.3.2.13. Application of Seeds

  1. Where broadcast seeding is the specified application method, seeds shall be broadcast at the rate of coverage specified by the green roof design professional, to achieve at least 80 per cent surface coverage after two years of sustained growth (See Sentence 11.3.2.2.(4)).

10.3.2.14. Planting Bulbs, Plugs, and Cuttings

  1. Plugs and cuttings shall be distributed and planted at a rate of coverage specified by the green roof design professional, to achieve at least 80 per cent surface coverage after two years of sustained growth.
  2. Plugs and cuttings must not be planted during winter months.

10.3.2.15. Planting Potted Non-woody Plants

  1. Non-woody plants supplied in pots shall be planted at the minimum rate specified by the green roof design professional, to achieve at least 80 per cent surface coverage after two years of sustained growth.
  2. Potted plants shall be sufficiently watered to maintain plant health and vitality until they are planted, and the watering shall be documented on maintenance logs (see Article 1.3.2.4., "Contractor Submittals", and Sentence 10.3.2.1.(9)).

10.3.2.16. Planting Shrubs and Trees

  1. All woody shrubs and trees must be
    1. planted to the depth specified by the green roof design professional (graft joints between root stock and fruiting or flowering stock shall not be covered with growing media),
    2. planted in growing media with sufficient depth to promote adequate root development, and
    3. braced or anchored to support the plant against displacement by wind and other disturbing forces.
  2. Shrubs and trees that are vulnerable to displacement by wind shall be braced with wire cable or non-metallic cordage that shall be tensioned with a mechanical adjuster.
  3. Bracing and anchoring of shrubs or trees must be attached to structural or non-penetrating ballasted elements; structural connections must be located above the drainage plane in keeping with the related supporting roof assembly Standard (See Note A-10.3.2.16.)
  4. Any brace that supports planted shrubs or trees should not exceed an angle of 1.73:1 (21” in 12”, or 60°).

10.3.2.17. Protection of Plantings

  1. Newly planted plugs, cuttings, plants, and broadcast seeds must be protected from erosion caused by wind and water, trampling, and damage, in accordance with the specified means and methods (See Article 10.1.3.1.).
  2. An installed, commissioned green roof that is damaged must be restored in keeping with Article 11.3.2.7.

10.3.3. Planters

10.3.3.1. General Requirements for Planters

  1. All structural planters shall be reviewed and accepted by the Contractor and shall be waterproofed in keeping with the requirements in Part 14 of the Standard for the supporting roof assembly.

Part 11 – Development Care and Maintenance

Section 11.1. Design

11.1.1. General

11.1.1.1. Scope

  1. The scope of this Part and the Standard shall be as described in Division A, Part 1.

11.1.1.2. Defined Terms

  1. Words that appear in italics are defined in the Glossary.

11.1.2. Guarantee Term Requirements

11.1.2.1. RoofStar Vegetated Roof Guarantee

  1. To qualify for a RoofStar Vegetated Roof Guarantee, all projects shall comply with the requirements in Article 1.1.2.1., the requirements in this Part, and the requirements of the Standard governing the supporting roof assembly.

11.1.2.2. Reserved

11.1.3. All Systems

11.1.3.1. Purpose and Responsibility for Maintenance

  1. All maintenance shall be undertaken to
    1. qualify the assembly for, and to ensure ongoing coverage under, the RoofStar Vegetated Roof Guarantee,
    2. preserve biodiversity, and
    3. ensure the functionality of the vegetated roof system, including its rainwater detention and retention performance characteristics.
  2. The Contractor shall arrange for the maintenance of the vegetated roof assembly by a qualified green roof installer in keeping with the requirements in Article 1.3.2.3.
  3. Coverage under the RoofStar Vegetated Roof Guarantee depends on the undertaking of regular maintenance, and therefore maintenance by a qualified green roof installer shall conform to the requirements of the vegetated roof system manufacturer, the green roof design professional, or the Design Authority (whichever is greater); undocumented maintenance visits do not qualify do support the RoofStar Vegetated Roof Guarantee and may void it.

11.1.3.2. Requirement for Maintenance Procedures

  1. All vegetated roof assemblies shall be commissioned with a detailed written maintenance procedures manual, provided by the green roof design professional or vegetated roof system manufacturer.
  2. The maintenance procedures manual shall specify materials, means, methods, frequency of maintenance, and detailed instructions for specific care requirements (See Sub-section 11.3.2.), including (without limitation)
    1. the maintenance and operation requirements for irrigation systems,
    2. suitable flow rates for water to properly irrigate vegetation,
    3. inspection of the exposed supporting roof assembly, and
    4. the care and maintenance of both growing media and vegetation.
  3. The qualified green roof installer shall prepare a maintenance plan and schedule, based on the installed system and the maintenance procedures manual.
  4. The Contractor shall obtain from the qualified green roof installer a written maintenance plan and schedule and submit it to the Guarantor.

Section 11.2. Reserved

Section 11.3. Application

11.3.1. Guarantee Term Requirements

11.3.1.1. RoofStar Vegetated Roof Guarantee

  1. To qualify for a RoofStar Vegetated Roof Guarantee, all projects shall comply with the requirements in Article 1.1.2.1., the requirements in this Part, and the requirements of the Standard governing the supporting roof assembly.

11.3.1.2. Reserved

11.3.2. All Systems

11.3.2.1. General Requirements for Development Care and Maintenance

(See Note A-11.3.2.1.)

  1. Maintenance of the vegetated roof assembly shall commence immediately after planting.
  2. Maintenance methods, supplies, and tools shall be commensurate with the qualified green roof installer’s training and shall be compatible with, and shall not damage or destroy, either the vegetated roof system or the supporting roof assembly.
  3. During the establishment period, the vegetated roof assembly shall be inspected and maintained as often as required by the vegetated roof system manufacturer or the green roof design professional.
  4. The qualified green roof installer responsible for maintenance shall maintain the vegetated roof system throughout its establishment period, in keeping with the general care and maintenance requirements specified by the vegetated roof system manufacturer, or the green roof design professional, and as required in Article 11.3.2.3. (See also Article 1.1.3.3.).
  5. The qualified green roof installer responsible for maintenance shall remove unwanted or invasive vegetation
    1. one month after planting, and
    2. on a monthly basis after the first weeding, or as required by the vegetated roof system manufacturer or the green roof design professional..
  6. Any waste removed from a green roof shall be properly disposed of, in keeping with local regulations.
  7. Ice removing chemicals and salts must not be used on or near the vegetated roof system.
  8. If snow is removed from walkways adjacent to or traversing the green roof, the snow must be distributed across the vegetation and shall not be piled.

11.3.2.2. Routine Development Care and Maintenance

  1. The vegetated roof system shall be watered or irrigated (for roofs with irrigation systems) in accordance with the requirements of the vegetated roof system manufacturer or green roof design professional (see Article 1.1.3.3.).
  2. The frequency of maintenance shall be determined by the vegetated roof system manufacturer or green roof design professional, but should be
    1. at least four times per year for extensive systems, or
    2. no less than twice per month during the growing season for semi-intensive and intensive systems (See Note A-11.3.2.2.(2)(2)).
  3. Notwithstanding the minimum required frequency of maintenance, the qualified green roof installer responsible for maintenance shall
    1. ensure no less than 80 per cent mature vegetation surface coverage after establishment, and
    2. remove invasive vegetation (weeds) before they flower or propagate.
  4. Notwithstanding the requirements in this Article, established volunteer non-invasive wildflowers should be left undisturbed unless expressly restricted by the vegetated roof system manufacturer (See A Guide to Weeds in British Columbia, published by the Government of British Columbia).
  5. Unwanted and invasive vegetation must be removed from the green roof system by hand; the use of commercially available pre-emergent chemical herbicides, and the application of pesticides, is not permitted.
  6. Vegetation that is stressed from heat or drought must not be mowed or trimmed unless specified by a qualified horticulturalist.
  7. After the growing season and before winter, annual vegetation must be cut down and perennials trimmed; remove and compost annual cuttings but mulch perennial trimmings that will naturally root themselves.
  8. In addition to the foregoing, the qualified green roof installer responsible for maintenance shall maintain the green roof in accordance with best practices, including (without limitation) the following tasks:
    1. repeat seeding or planting, where necessary (replant bare areas immediately),
    2. replace potted vegetation that has died,
    3. roll any frost-lifted portion of the system,
    4. cut back, trim, prune, or thin out vegetation, as needed,
    5. mulch vegetation (See A-11.3.2.2.(8)(5)),
    6. reconnect or reposition any disconnected trays or mats,
    7. adjust anchors or bracing for large plants,
    8. implement necessary pest control measures,
    9. remove any unwanted vegetation from the installed assembly,
    10. remove and properly dispose of dead vegetation, dead flower heads, and non-vegetative litter,
    11. remove vegetation from separation zones,
    12. inspect and clear debris from around roof drains to ensure the free flow of water,
    13. inspect and test the functionality of irrigation systems, and
    14. water (irrigate, where the roof has an irrigation system) the vegetated roof system.
  9. Growing media shall be
    1. tested for pH and nutrient levels at intervals prescribed by the vegetated roof system manufacturer (for extensive systems) or by the green roof design professional (for semi-intensive and intensive systems), beginning with the first spring after planting, before plants begin to leaf out or grow new foliage,
    2. amended annually or as otherwise specified by the vegetated roof system manufacturer or green roof design professional; amending shall be based on test results and recommendations, to satisfy the design objectives of the green roof system, and to promote plant vigor, and
    3. maintained to conform to the originally designed grow media blend.
  10. Soil sampling shall be conducted following the guidelines in the “Canadian Landscape Standard” and samples shall be tested for nutrient levels and pH (soil fertility) by a commercial laboratory accredited by The Canadian Association for Laboratory Accreditation or listed by the Province of British Columbia publication, "Nutrient Testing Laboratories".
  11. Amendments
    1. should not introduce organic materials into the growing media that would alter its designed composition,
    2. should be selected to promote plant vitality and longevity, in balance with consideration for possible adverse effects on the roof membrane, and on local subsoil water tables or nearby waterways), and
    3. should be added in the form of slow-release organic-based granules or liquids (i.e., compost ‘tea’).
  12. The qualified green roof installer responsible for maintenance should note in maintenance reports any deterioration of, or damage to, structures, systems, or equipment that is adjacent to or encompassed by the green roof system, including (without limitation),
    1. the exposed supporting roof assembly,
    2. railings,
    3. fall protection devices or systems,
    4. anti-slip devices,
    5. roofing materials, components, or penetrations,
    6. ladders, hatches, or catwalks, and
    7. building ventilation, heating, or cooling equipment.

11.3.2.3. Irrigation of Vegetation

  1. Where an irrigation system is installed, it shall be tested and re-programmed each spring.
  2. Winterizing of the irrigation system shall be the responsibility of the qualified green roof installer.
  3. The green roof shall be irrigated as frequently as required by the vegetated roof system manufacturer (for extensive systems) or the green roof design professional (for semi-intensive and intensive systems), to maintain the health of vegetation.
  4. Immediately after planting is completed, irrigation shall conform to the following regime, unless otherwise specified or recommended by the vegetated roof system manufacturer or the green roof design professional:
    1. First two weeks: irrigate 1-2 times per day.
    2. Weeks 3 to 4: irrigate 1-2 times per week; roots should be developing and penetrating the media.
    3. Weeks 5 to 8: Irrigate at least once per week; check for root formation and substantial penetration into growing media.
    4. Weeks 9 and beyond: irrigate every one to two weeks, or more frequently during dry conditions.
  5. During prolonged periods of heat and drought (when daytime temperatures regularly exceed 28°C and precipitation is less than 25 mm (1”) per month or, in the alternative, when there has been no precipitation for up to three weeks), the vegetation must be
    1. routinely checked for signs of wilting and plant stress, and
    2. irrigated until fully saturated (fully saturated is usually evidenced by water visibly running toward the roof drains).

11.3.2.4. Maintenance of Irrigation System

  1. Irrigation systems shall be maintained during the Guarantee Period, including any winterizing to prevent system damage.

11.3.2.5. Substantial Establishment

  1. An extensive vegetated roof system shall be considered substantially established when
    1. mature plants covers at least 80 per cent (by area) of the growing media,
    2. plants demonstrate firmness and proper colouration (wilting and discolouration from overwatering or poor nutrition is not acceptable), and
    3. no more than 10 per cent of the joints between pre-grown mats are visible during inspection.
  2. Plants from pots shall be rooted in the growing media and manifest new root growth.
  3. Both semi-intensive and intensive vegetated roof systems shall be considered substantially established when plants coverage attains the minimum requirements of the vegetated roof system manufacturer or the green roof design professional.

11.3.2.6. Record of Maintenance

  1. The qualified green roof installer responsible for maintenance shall keep a maintenance log to record the work specified by the vegetated roof system manufacturer (where a specific record format is not specified, use the maintenance log in Appendix A), and the Contractor shall submit the records of maintenance to the Guarantor for the first two years after construction (See Article 1.3.2.4.).

11.3.2.7. Removal and Repair

  1. When removal of part of the vegetated roof system is required to expose the supporting roof assembly membrane, the system must be cut and opened in keeping with the written guidelines or instructions of the vegetated roof system manufacturer.
  2. Repair of a damaged vegetated roof system shall be undertaken by a qualified green roof installer using materials and methods in keeping with the installer’s training and this Standard.

11.3.3. Reserved


Part 12 - Reserved


Part 13 – Reserved


Part 14 – Landscaped Features and Amenity Spaces

Section 14.1. Design

14.1.1. General

14.1.1.1. Scope

  1. The scope of this Part and the Standard shall be as described in Division A, Part 1.

14.1.1.2. Defined Terms

  1. Words that appear in italics are defined in the Glossary.

14.1.2. Guarantee Term Requirements

14.1.2.1. RoofStar Vegetated Roof Guarantee

  1. To qualify for a RoofStar Vegetated Roof Guarantee, all projects shall comply with the requirements in Article 1.1.2.1., the requirements in this Part, and the requirements of the Standard governing the supporting roof assembly.

14.1.2.2. Reserved

14.1.3. All Systems

14.1.3.1. Coverage and Limitations

  1. Coverage under the RoofStar Vegetated Roof Guarantee shall be as described in Division A, Article 3.2.1.2.
  2. Notwithstanding the limitations and exclusions named in Article 3.2.1.2. of Division A, the establishment of apiary hives on a vegetated roof is permissible, but the roof shall not be used for the processing of honey, or to house, feed, or in any way support livestock, except for poultry.
  3. Where poultry are kept on a vegetated roof, any damage to that assembly caused by poultry is expressly excluded from coverage under the RoofStar Guarantee.

14.1.3.2. Loads

  1. The anticipated dead loads of added features shall be considered in the overall design of the vegetated roof assembly as required in Article 3.1.3.4.

14.1.3.3. Securement of Landscape Features and Amenity Spaces

  1. Where features that improve biodiversity are desirable and integrated into the design of the vegetated roof assembly (for example, dead and decaying wood), the Design Authority shall ensure that those features can be secured against displacement by expected environmental loads (i.e., wind).
  2. Amenity spaces that are integrated with a vegetated roof assembly shall be designed for securement following the requirements in Part 14 of the related supporting roof assembly Standard.

14.1.3.4. Reserved

Section 14.2. Reserved

Section 14.3. Application

14.3.1. Guarantee Term Requirements

14.3.1.1. RoofStar Vegetated Roof Assemblies

  1. To qualify for a RoofStar Vegetated Roof Guarantee, all projects shall comply with the requirements in Article 1.1.2.1., the requirements in this Part, and the requirements of the Standard governing the supporting roof assembly.

14.3.2.2. Reserved

14.3.2. All Systems

14.3.2.1. Reserved

14.3.2.2. Structures and Equipment

  1. All structures and equipment must be supported in keeping with the requirements in Article 14.3.2.7. of the related supporting roof assembly Standard.

Notes to Standard

Appendix A

© RCABC 2025
RoofStarTM is a registered Trademark of the RCABC.
No reproduction of this material, in whole or in part, is lawful without the expressed permission of the RCABC Guarantee Corp.